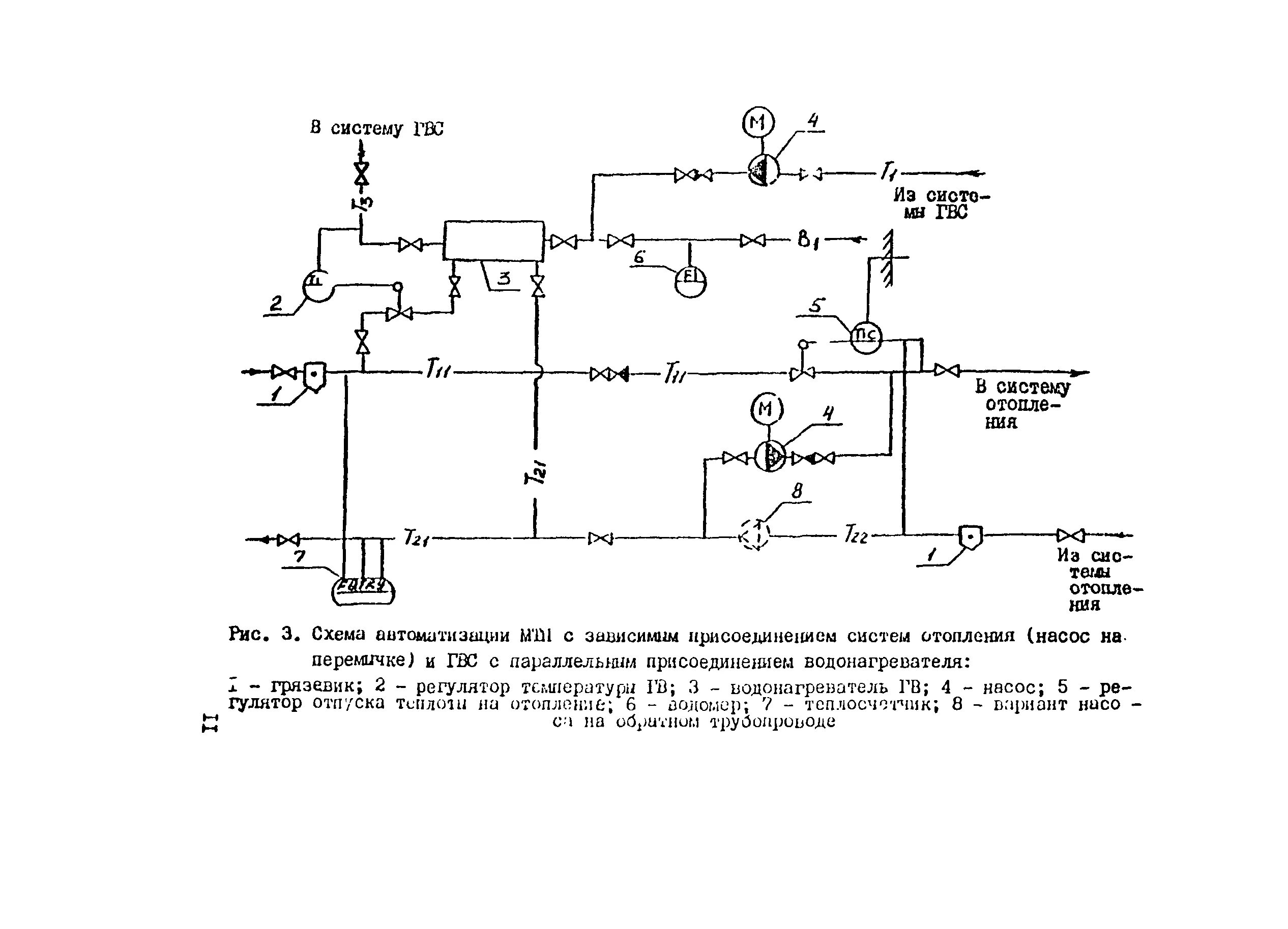
Проведение гвс