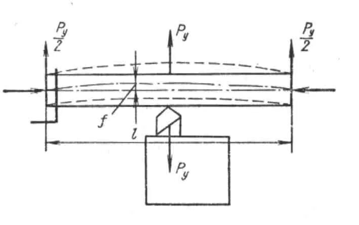
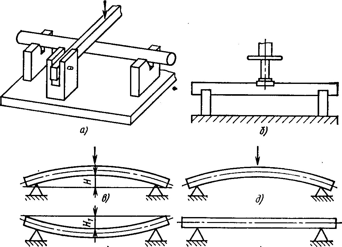
Прогиб вала