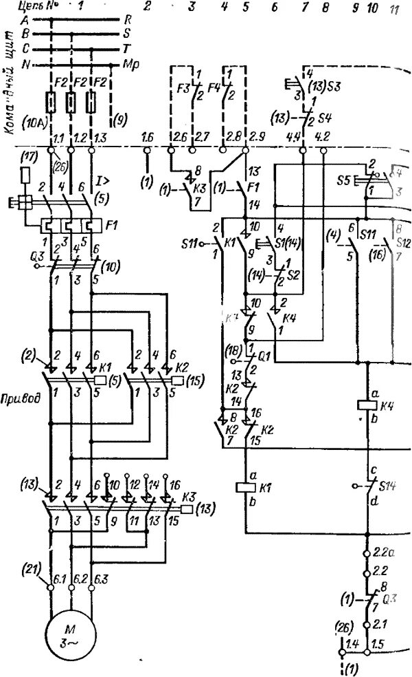
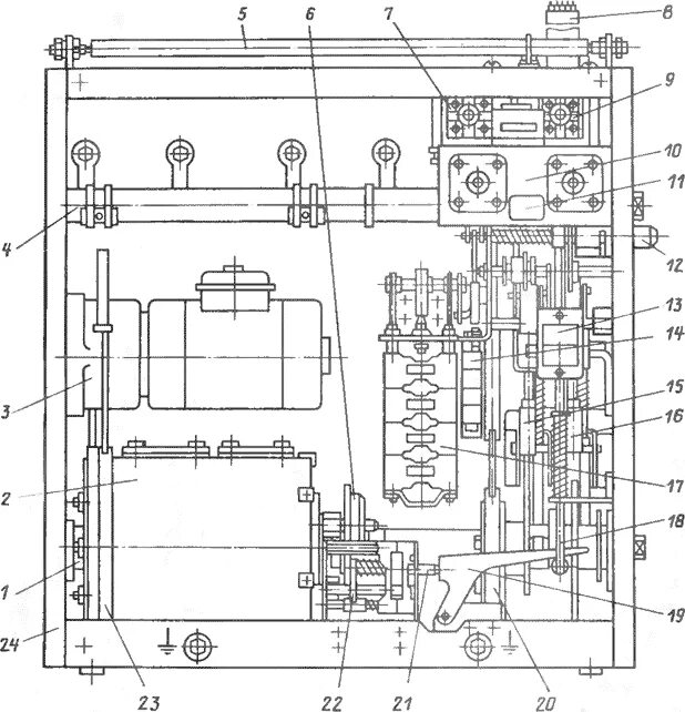
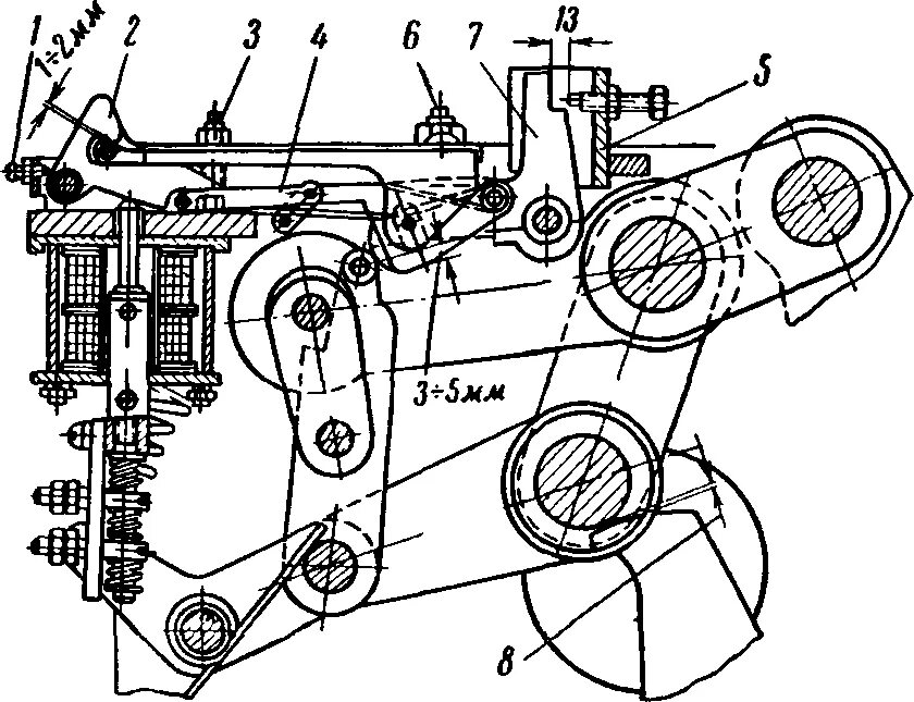
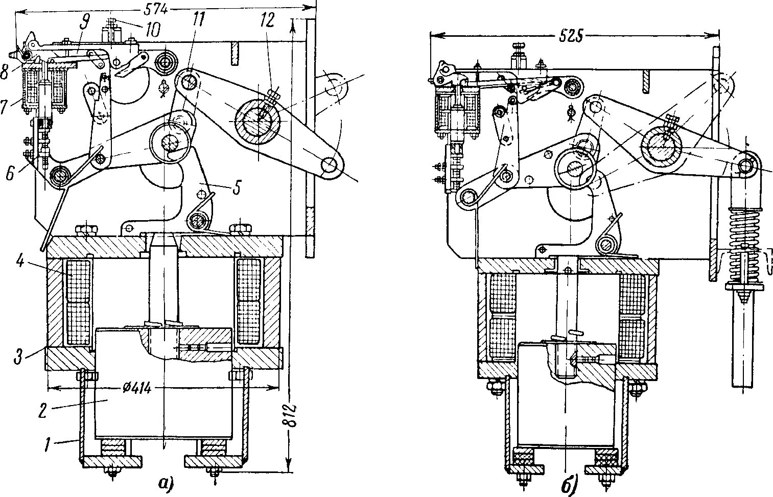
Привод типа 4