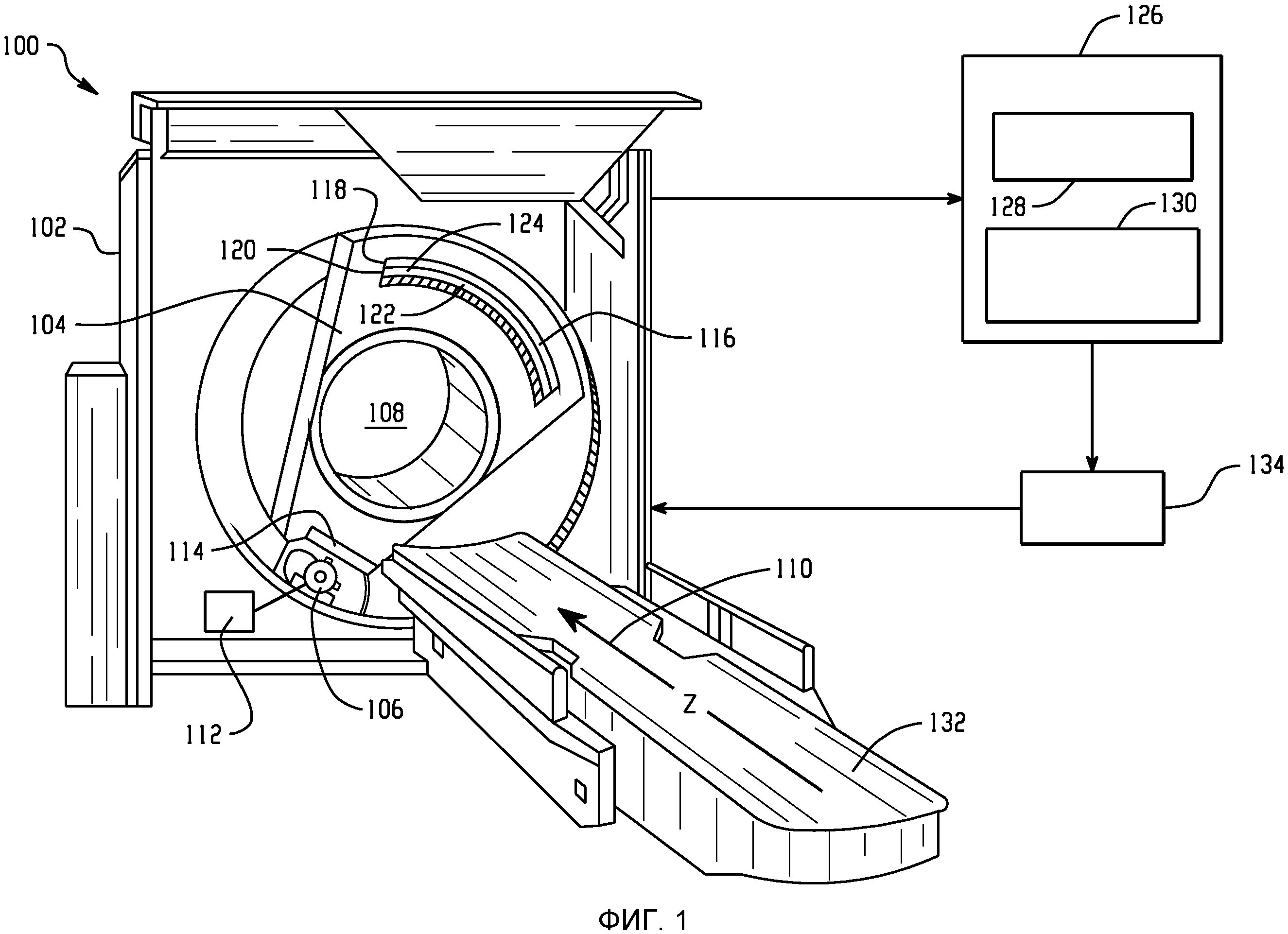
Получение мрт изображений