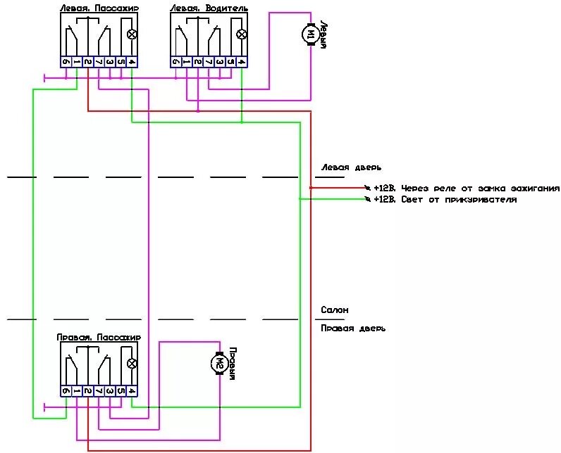
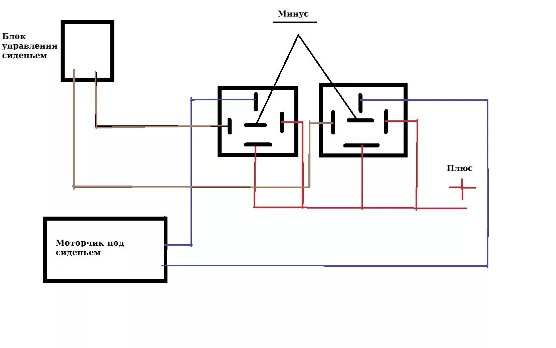
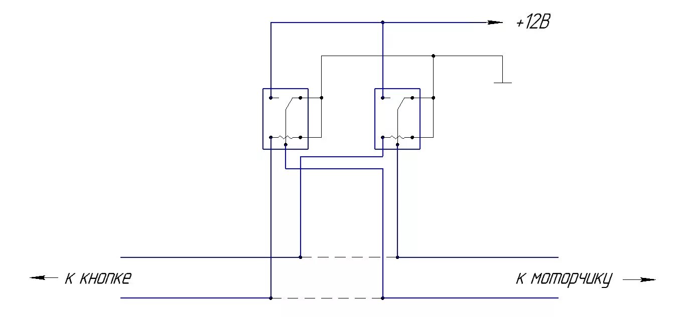
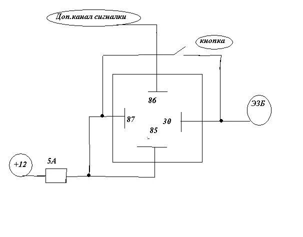
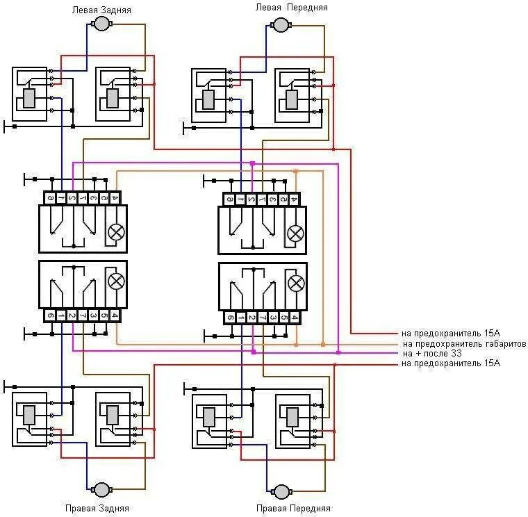
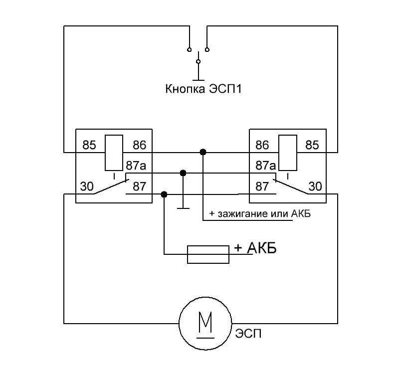
Подключить реле стеклоподъемников