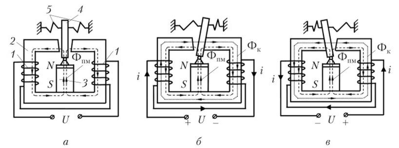
Переменные электромагниты