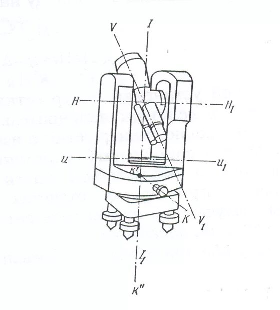
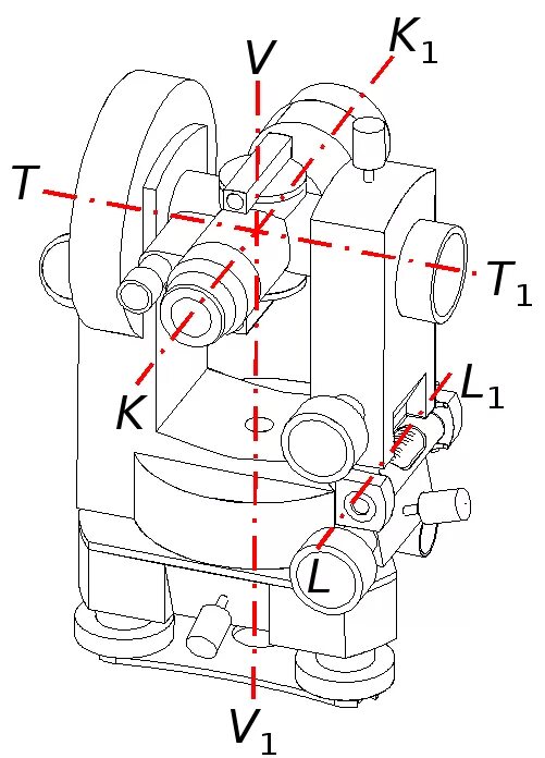
Ось уровня теодолита