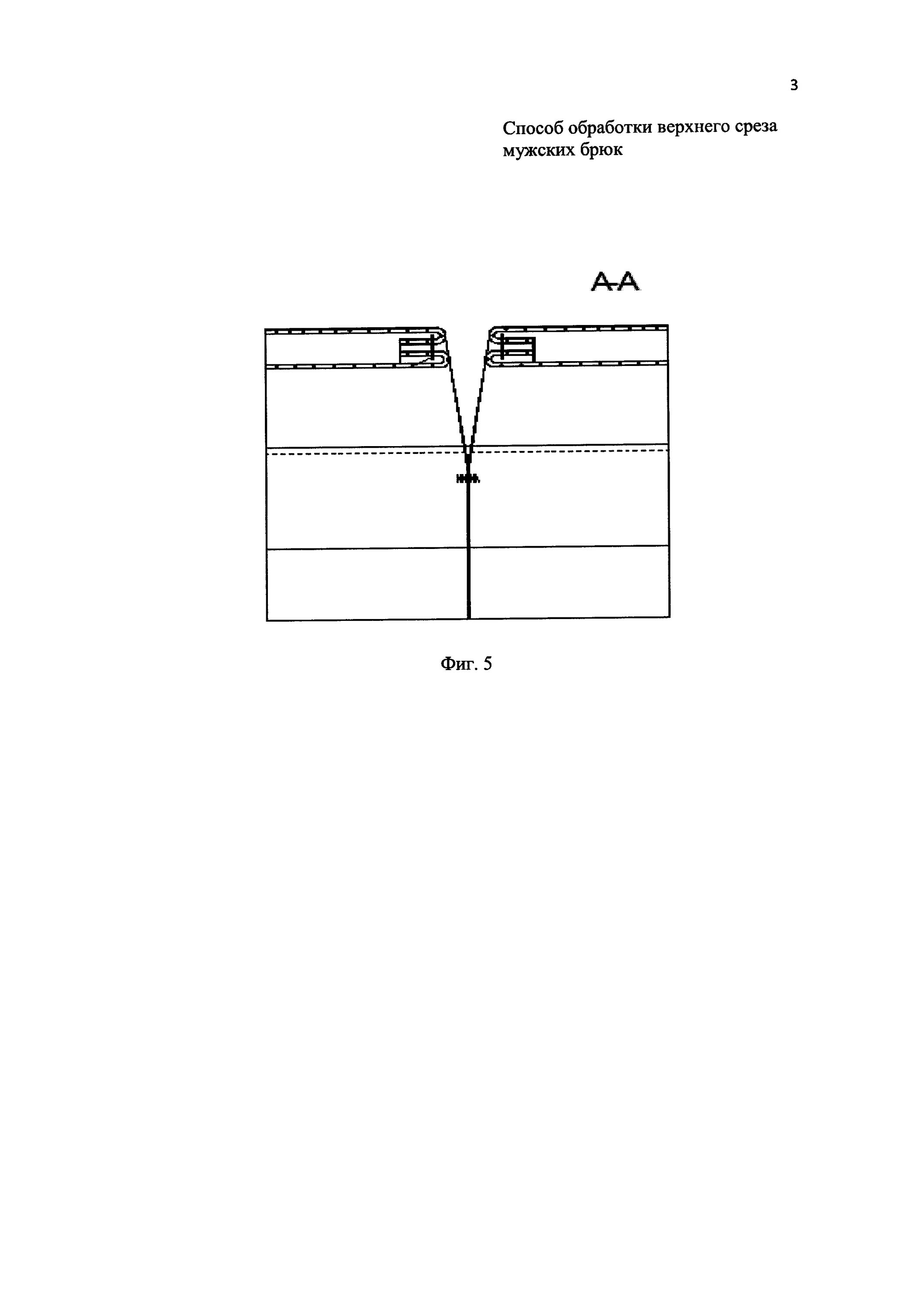
Обработка верхнего среза брюк