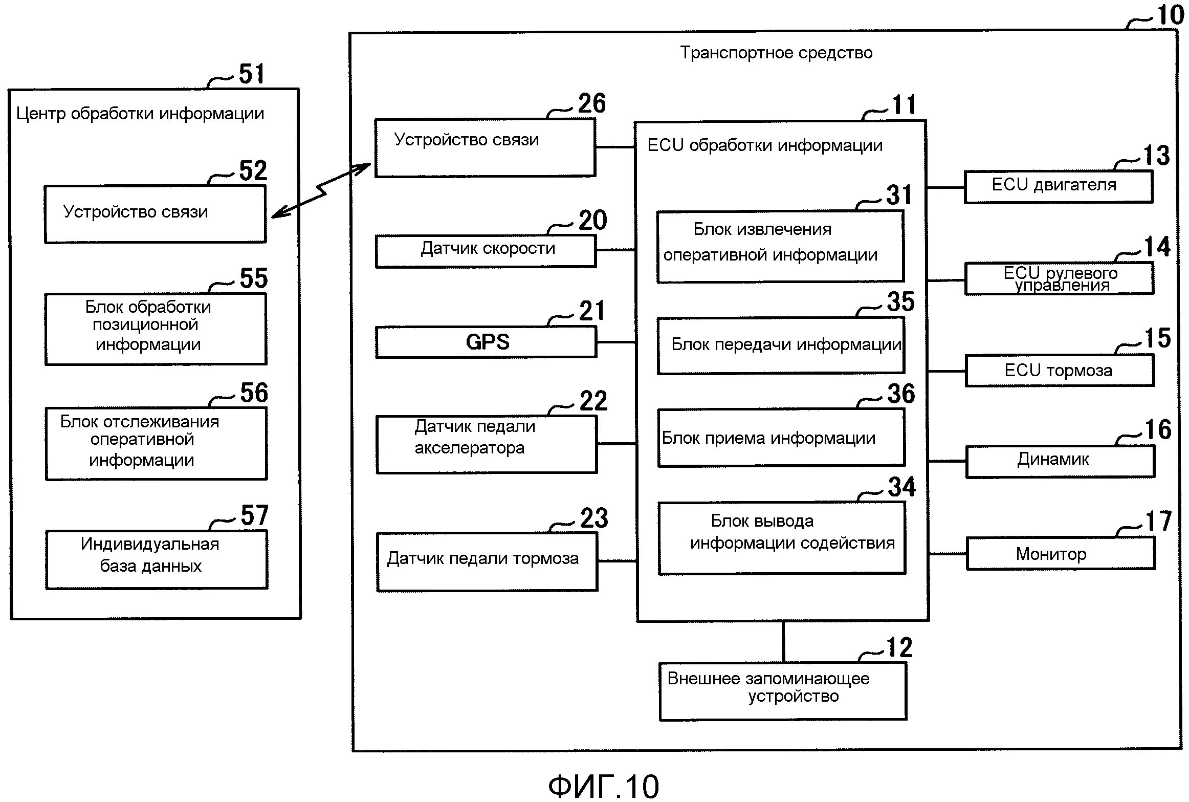
Обработка поступающей информации