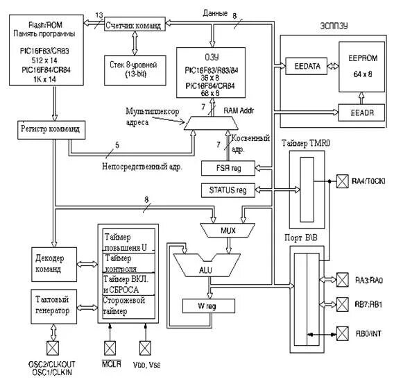
Обозначение функциональных блоков в графической нотации