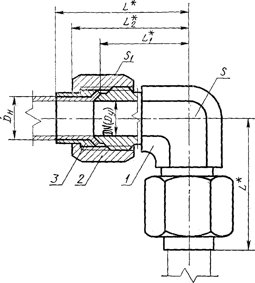
Ниппели для соединения труб