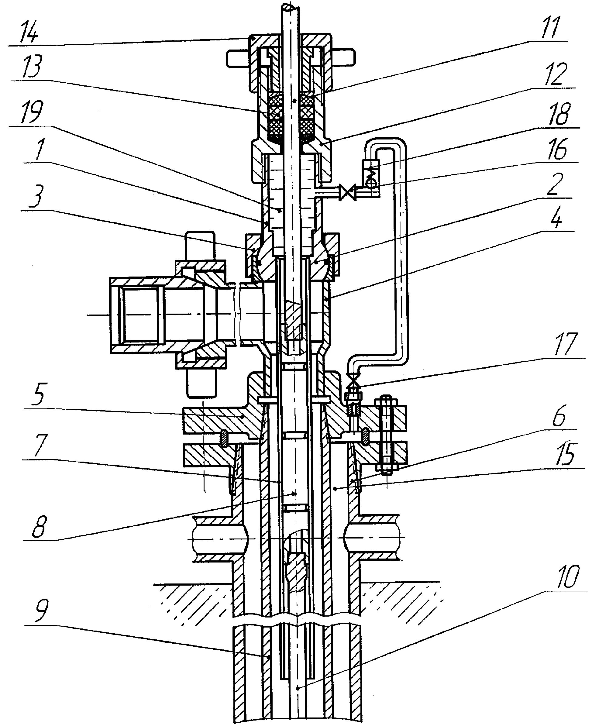
Назначение устья скважины