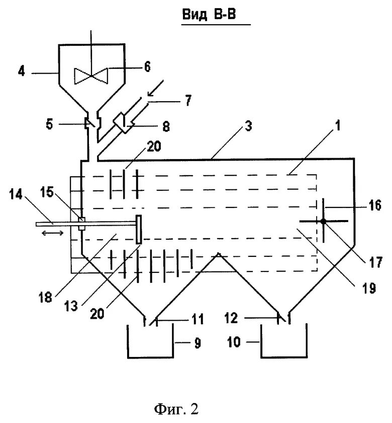
Найди сепаратор