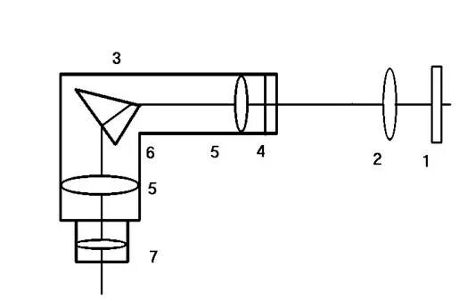
На рисунке 1 представлена схема эксперимента