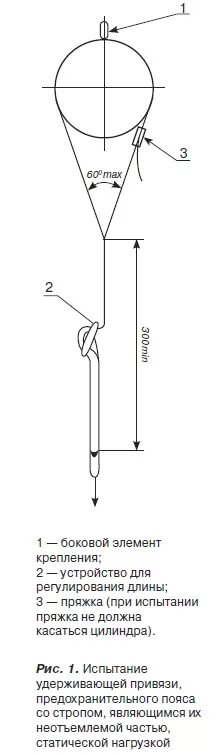
На подножке когтя лаза нанесено