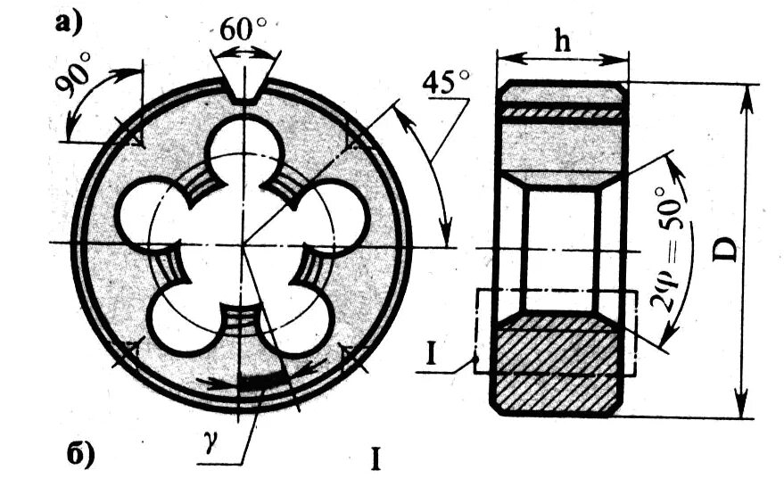
Можно ли разработать универсальную плашку