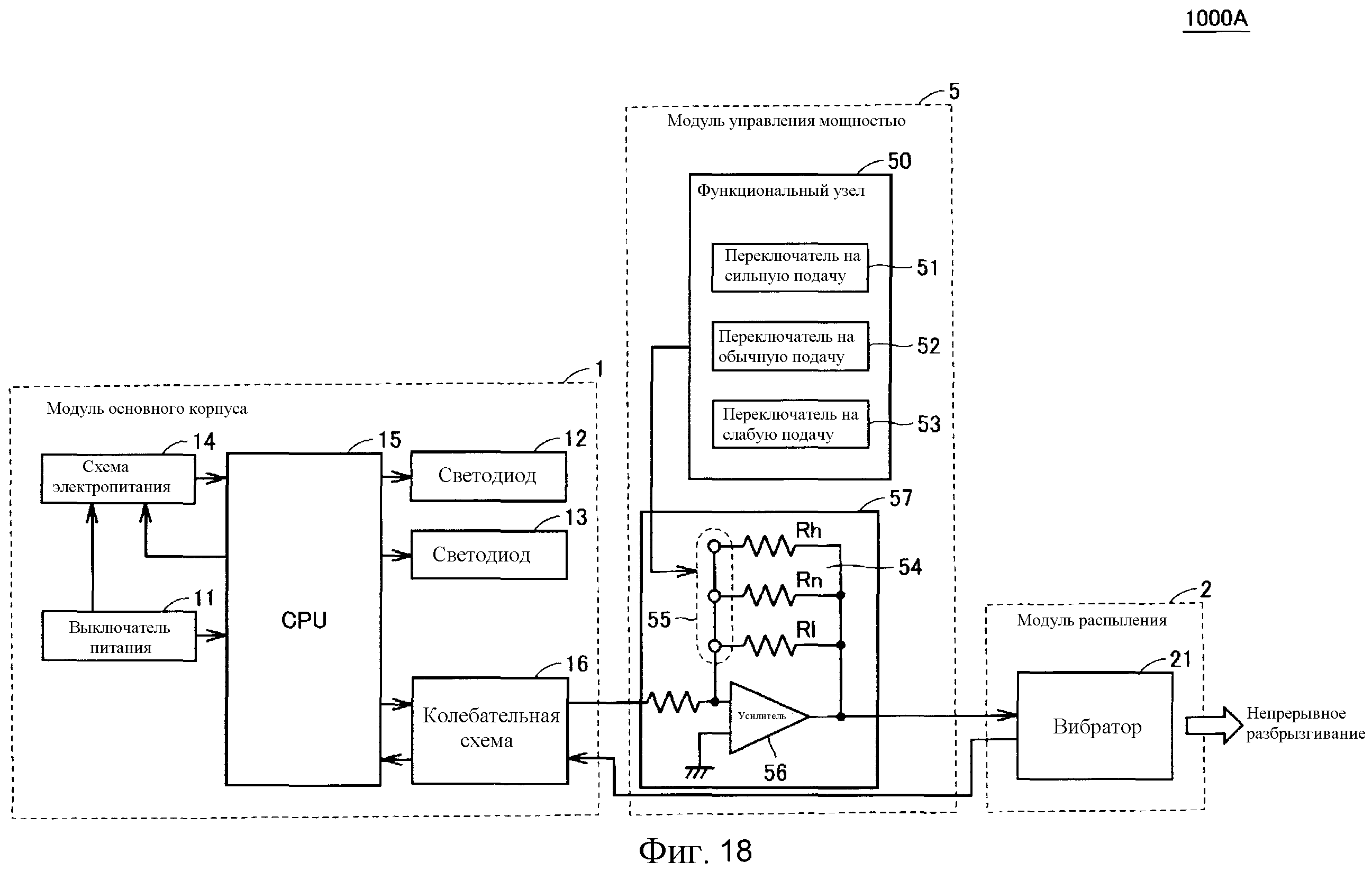
Модули систем управления