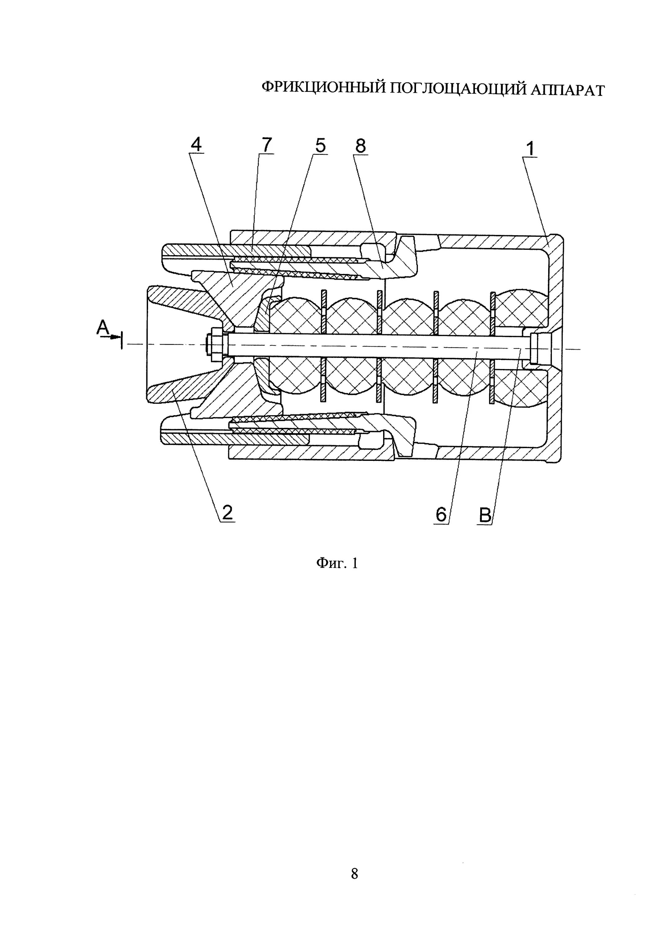
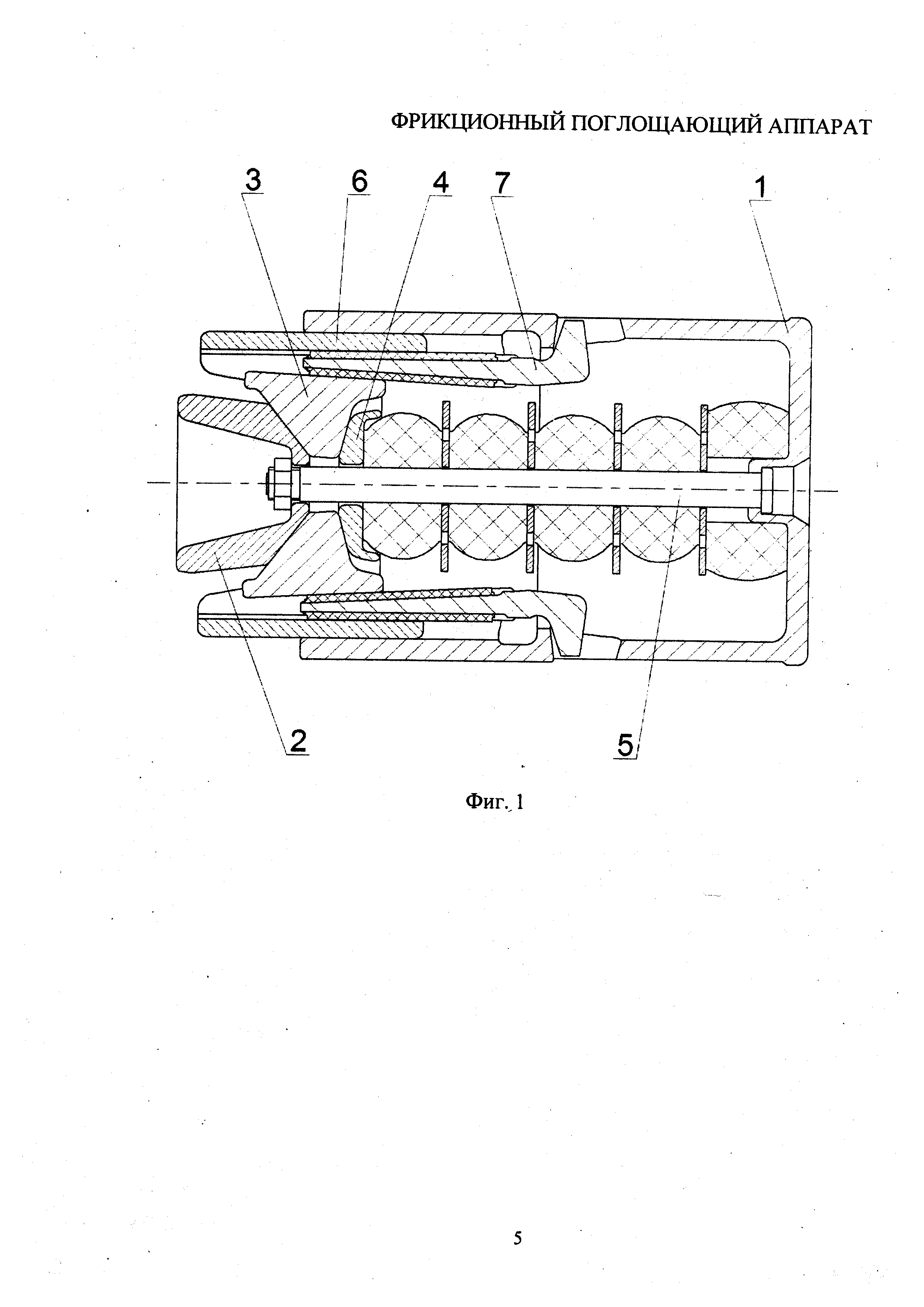
Модель поглощающего аппарата