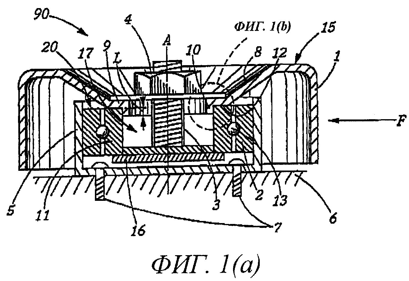
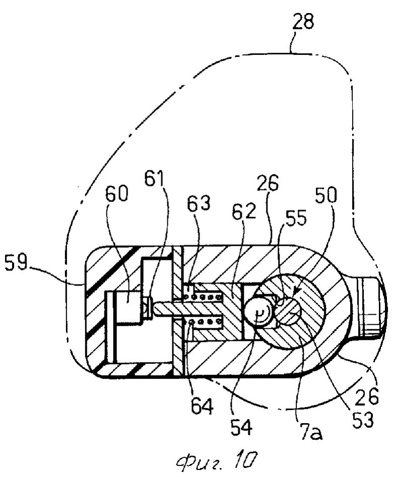
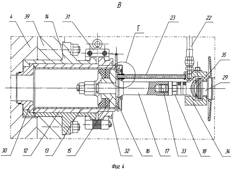
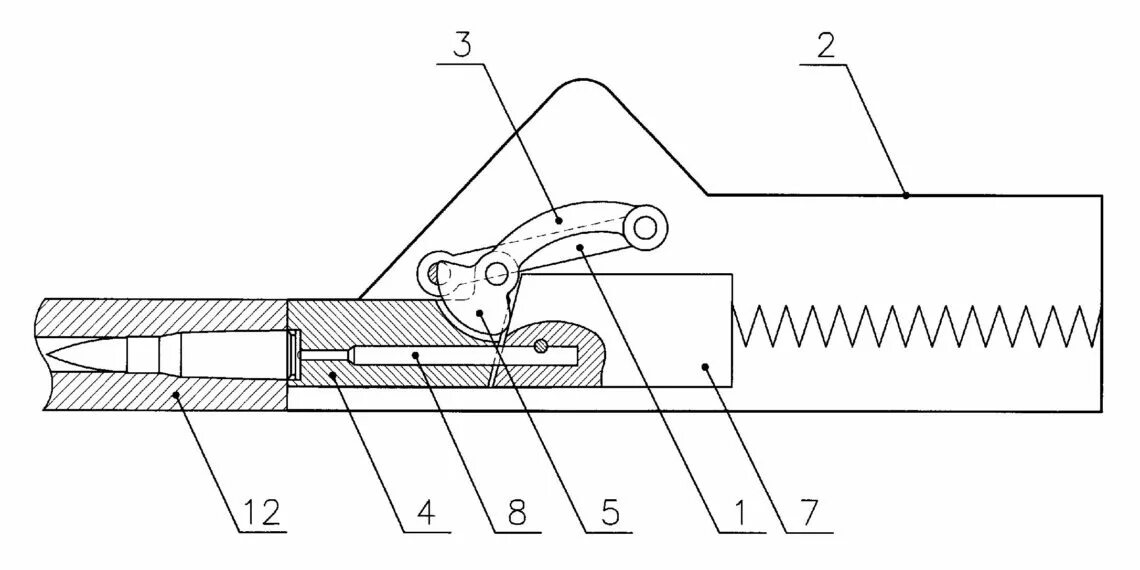
Ммс патент