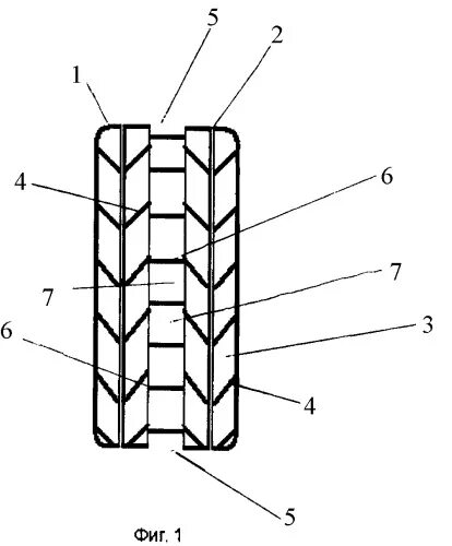
Метод протекторов