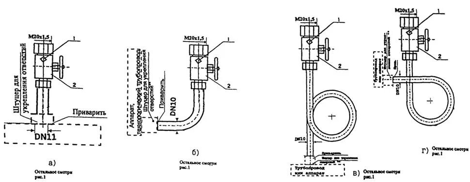
Манометр установленный на высоте 1.2 м