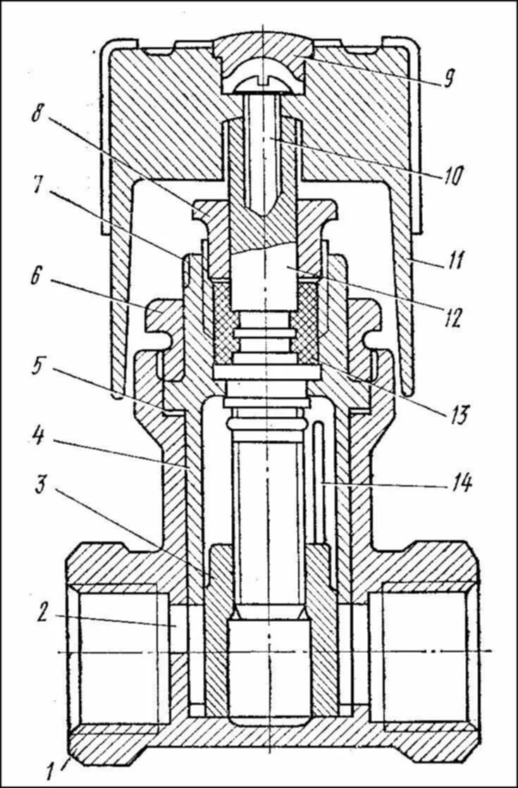
Кран регулирующий двойной регулировки