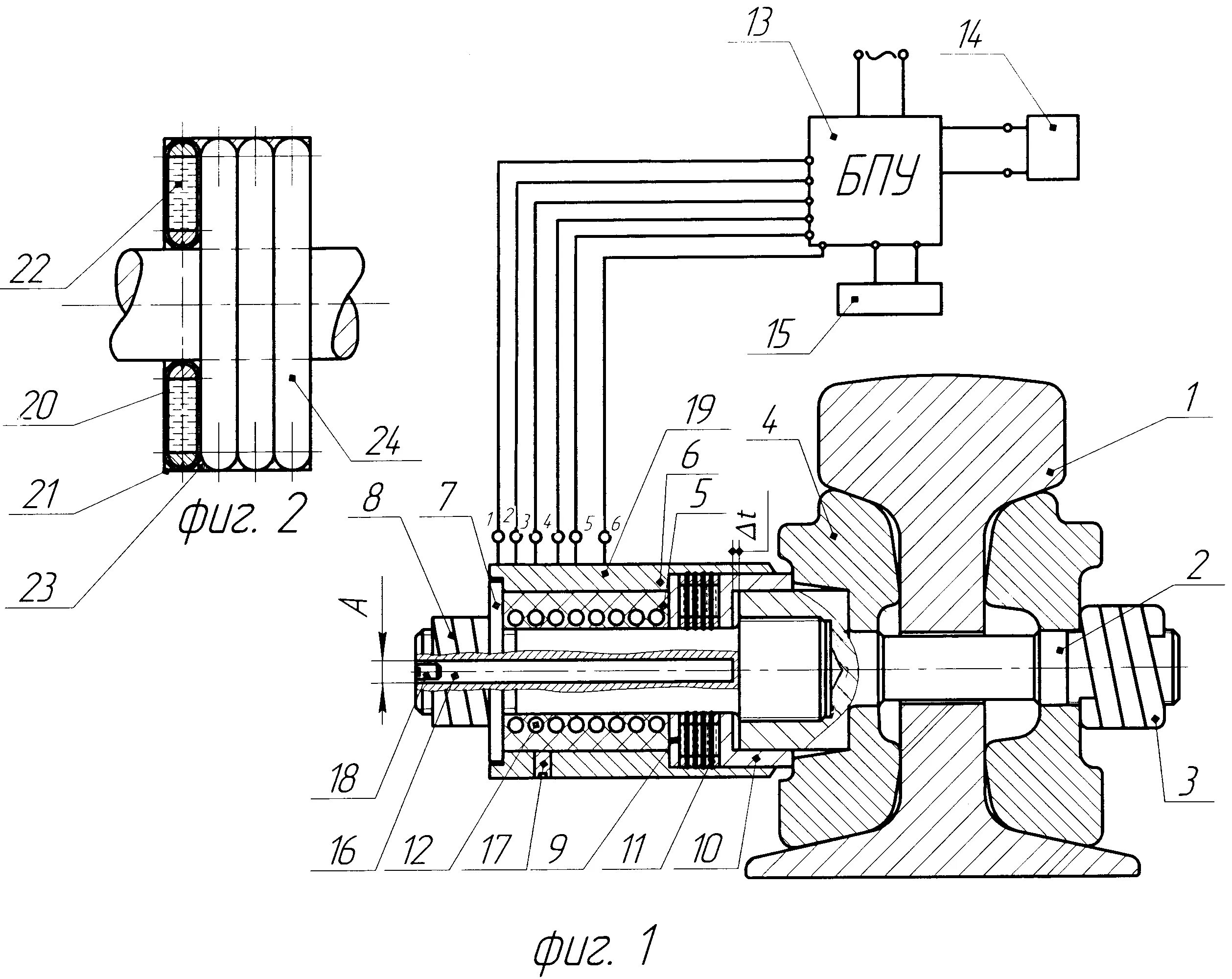
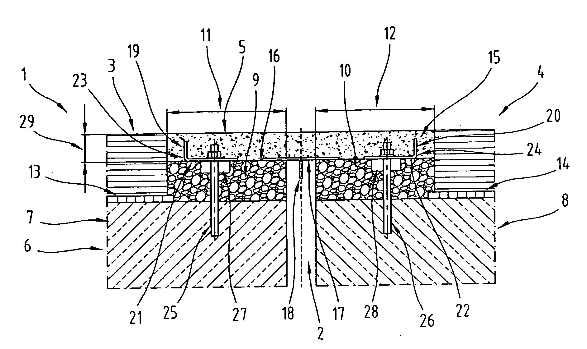
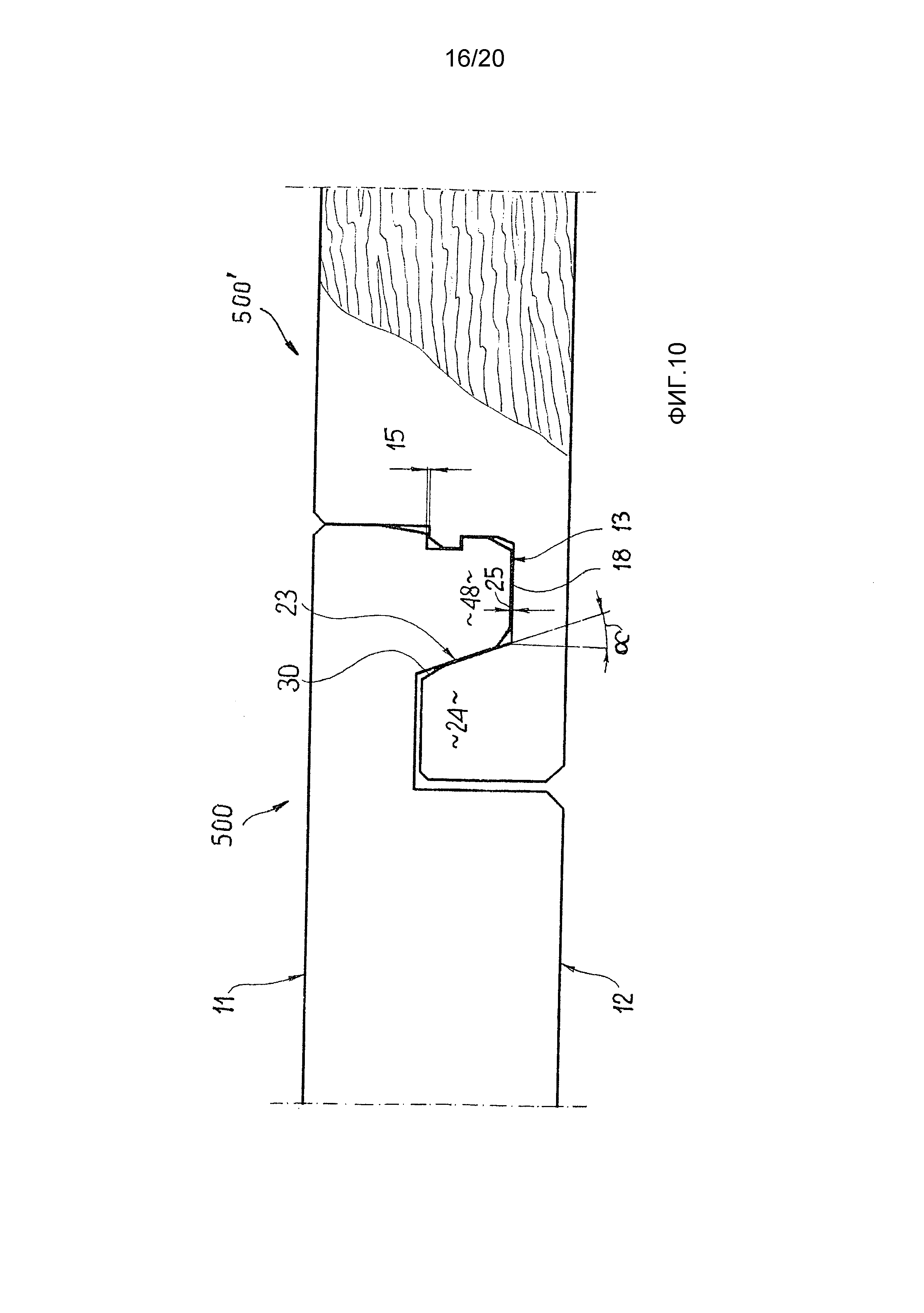
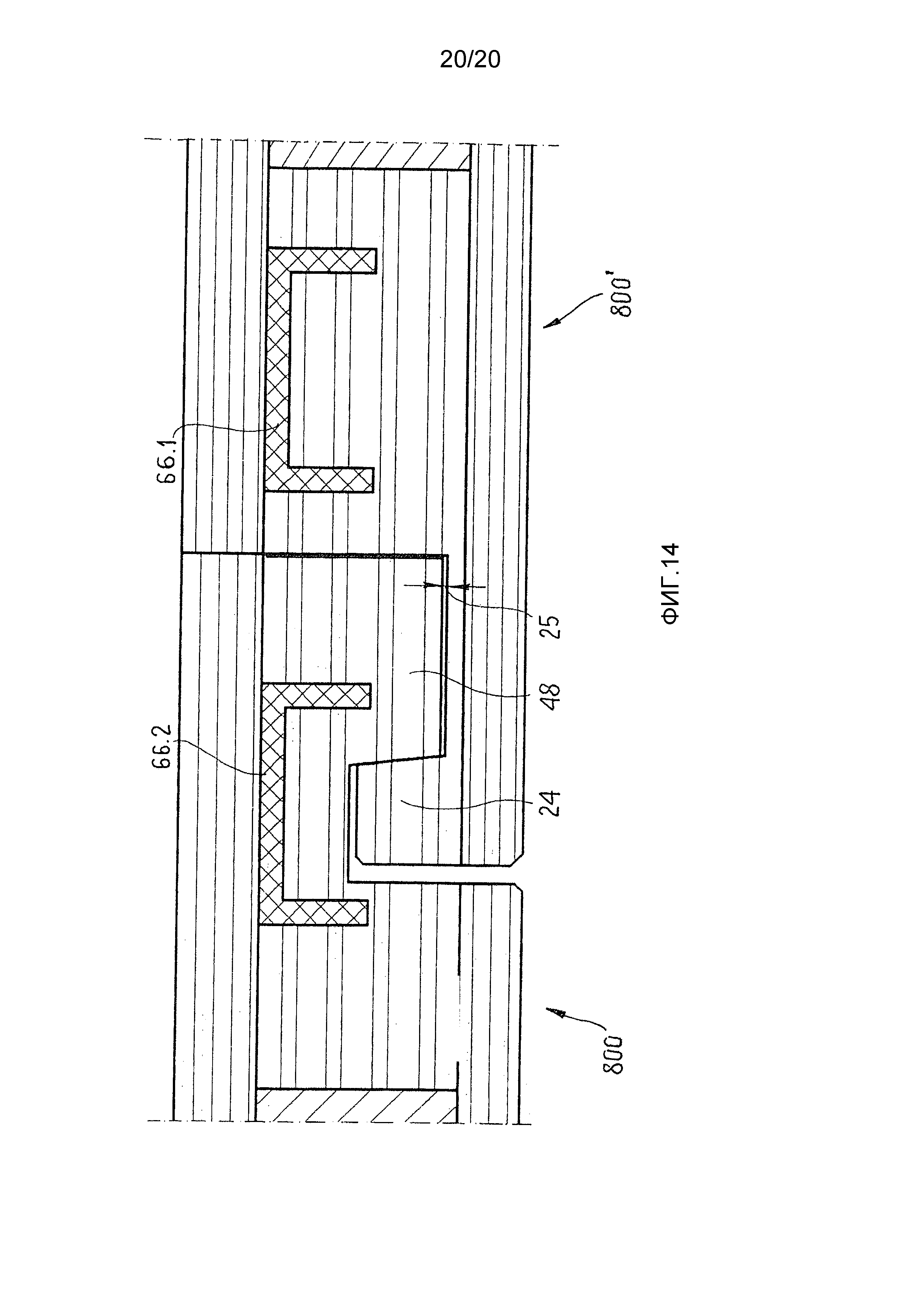
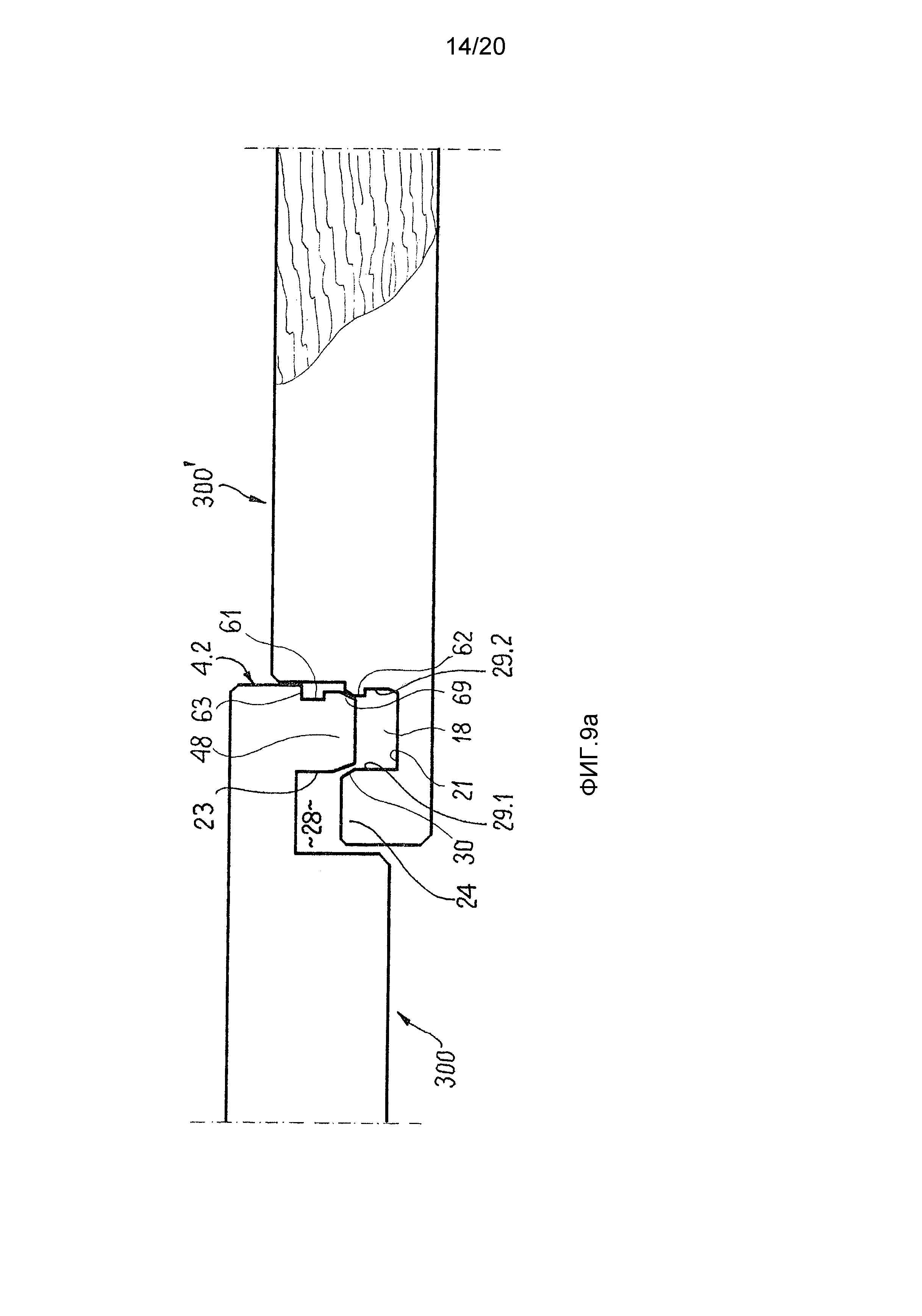
Компенсационный зазор