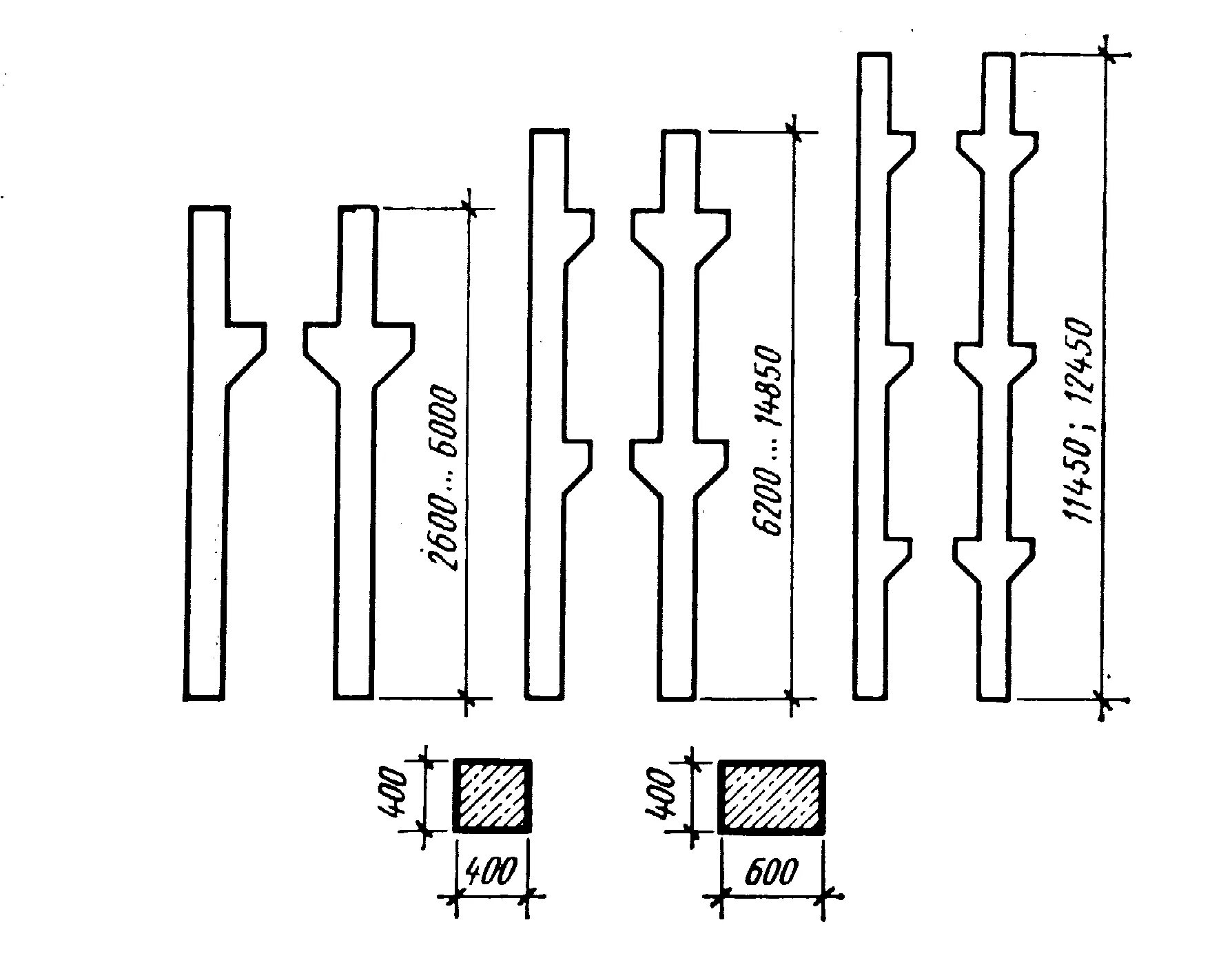
Колонны промышленных