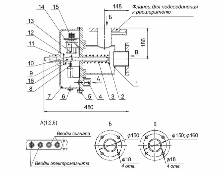
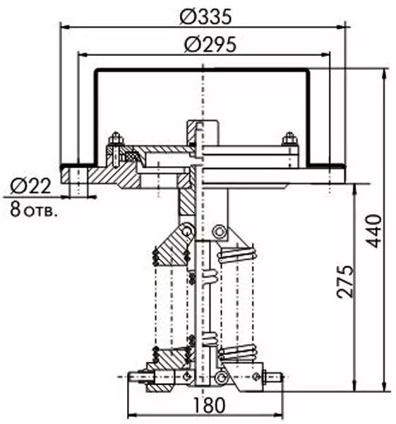
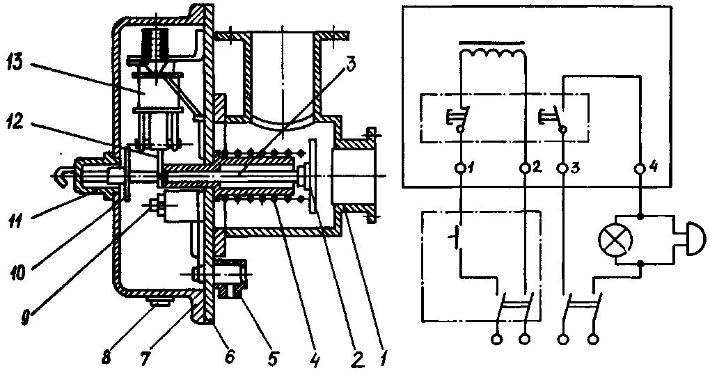
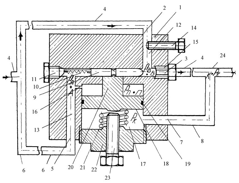
Клапаны трансформатора