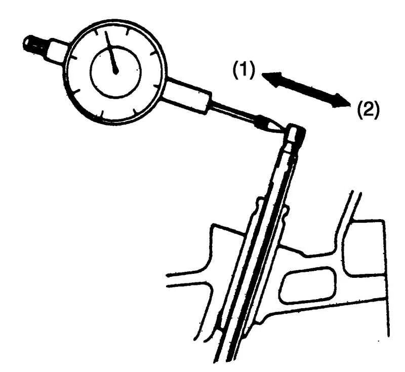
Какой зазор направляющих клапанов