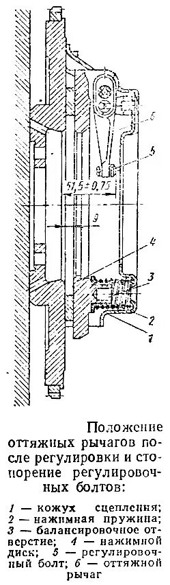
Как регулировать сцепления уаз