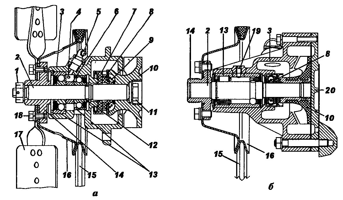
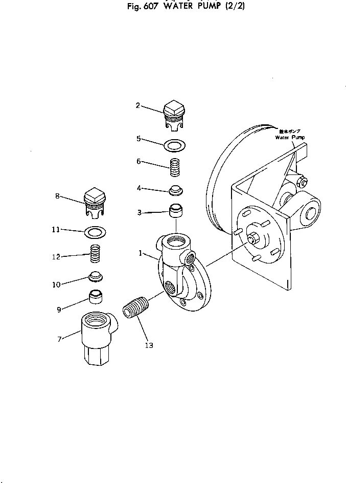
Как разобрать водяную помпу