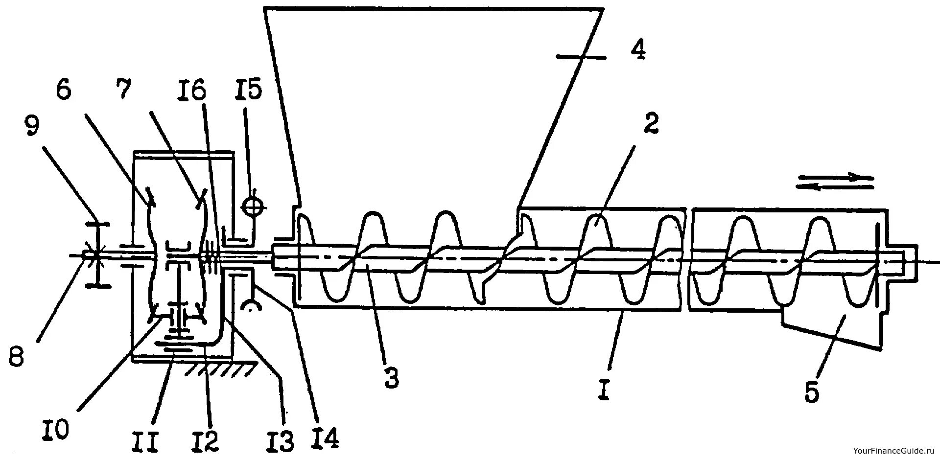
Как работает шнек