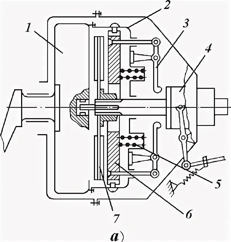
Как работает мокрое сцепление