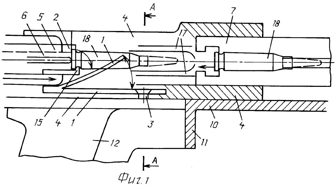
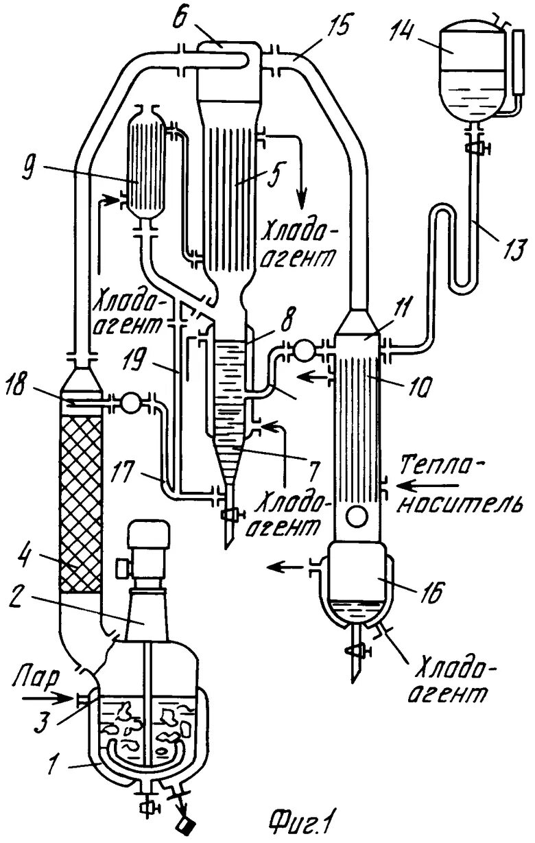
Как работает экстрактор