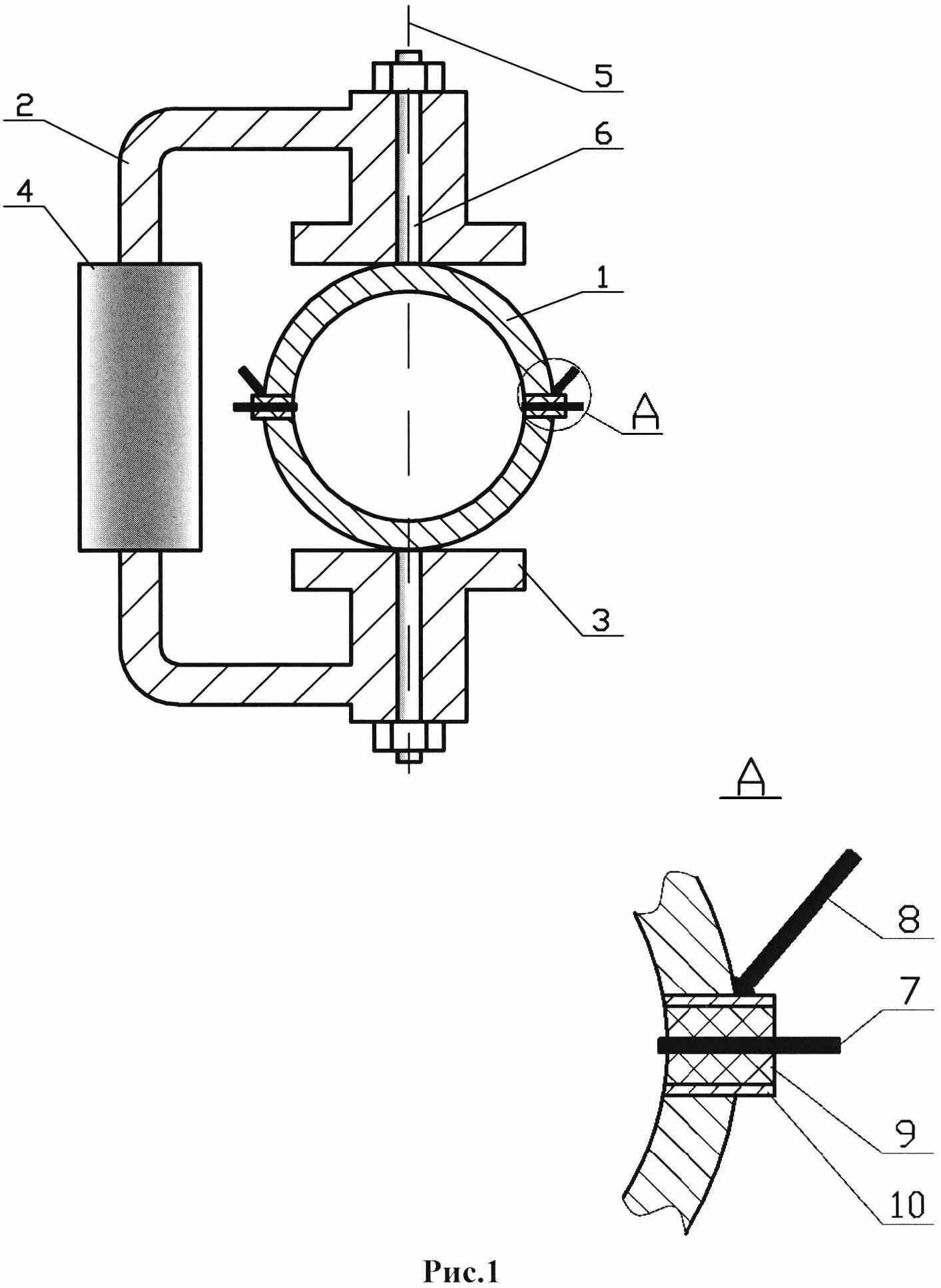
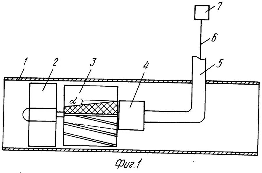
Как работает датчик расхода