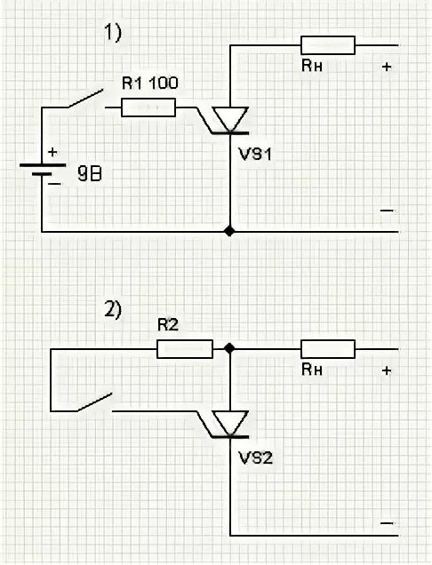
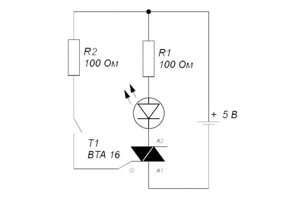
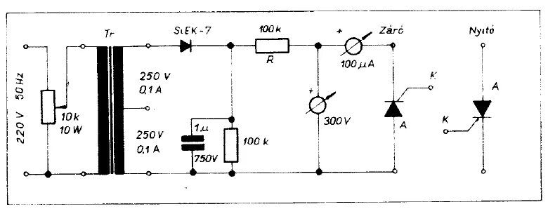
Как проверить тиристор ку202н мультиметром на исправность