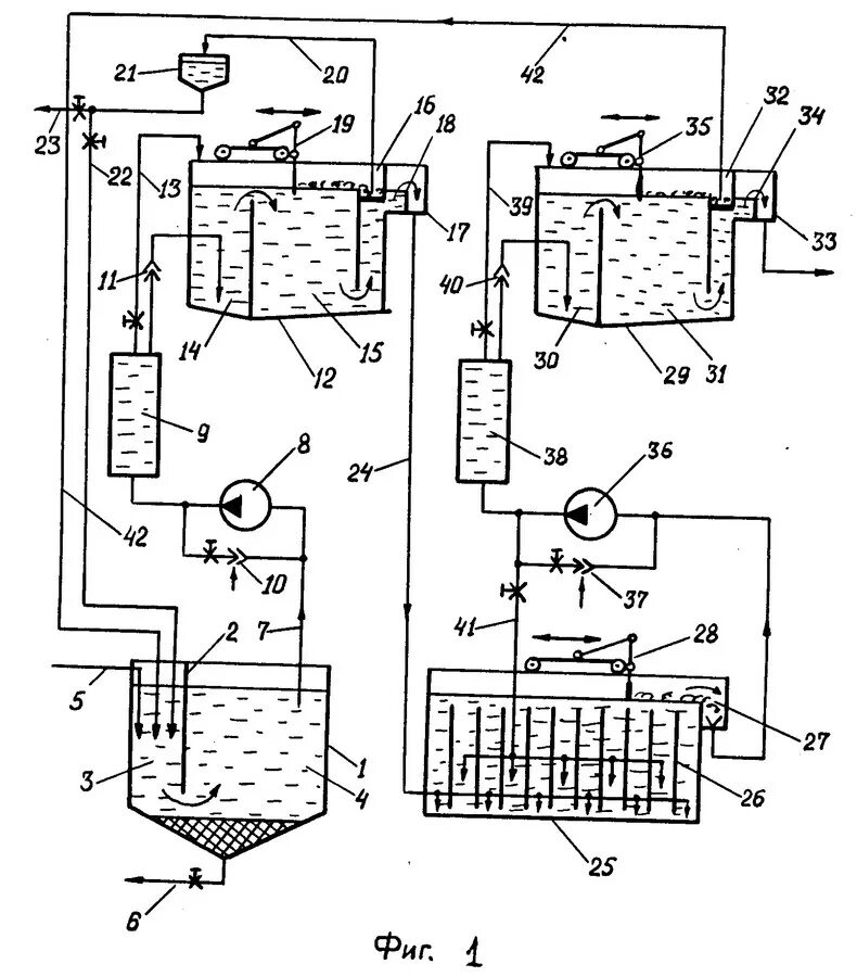
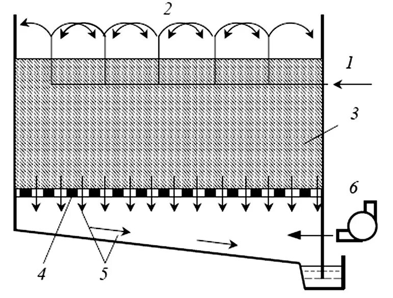
Как происходит очистка в биофильтрах