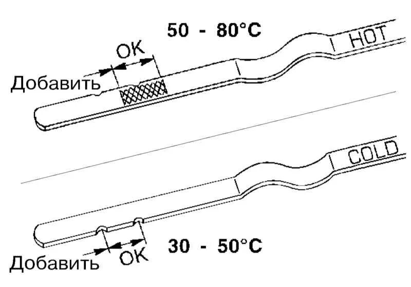
Как правильно выставить уровень масла в акпп