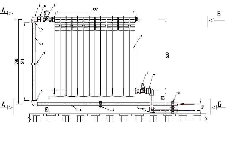
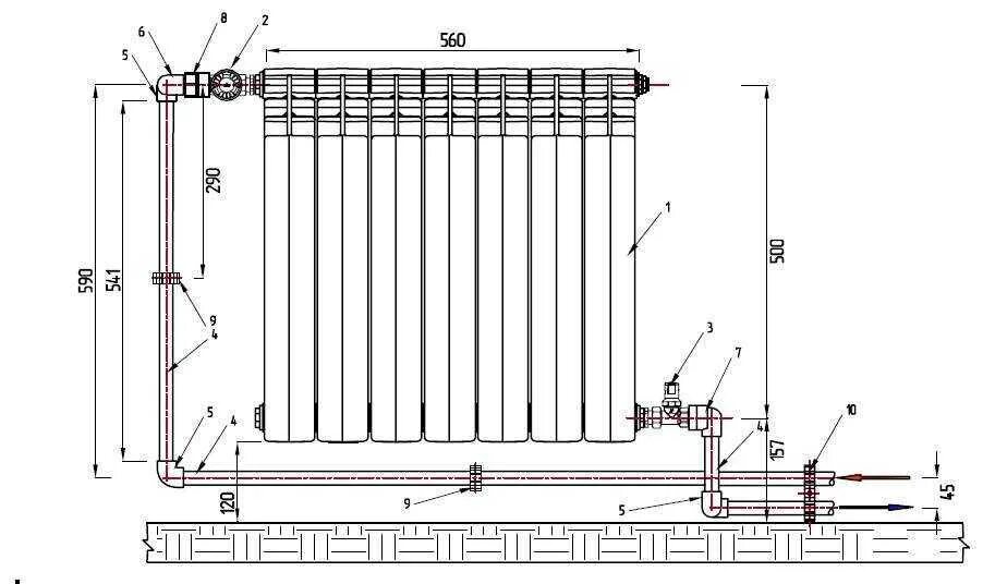
Как правильно установить радиатор