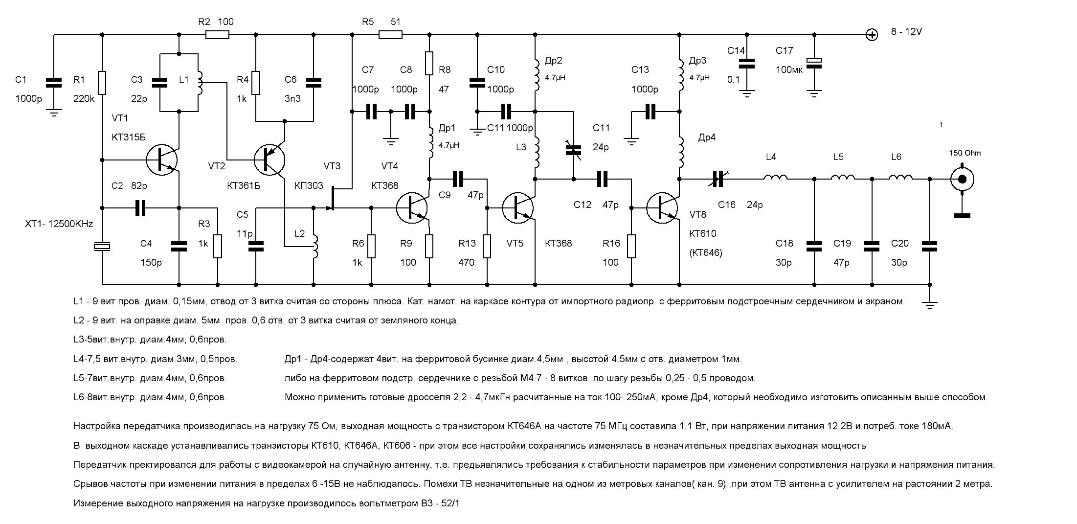
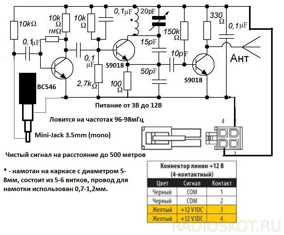
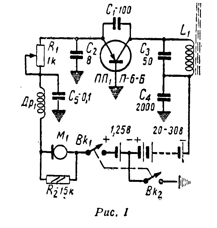
Как найти передатчик