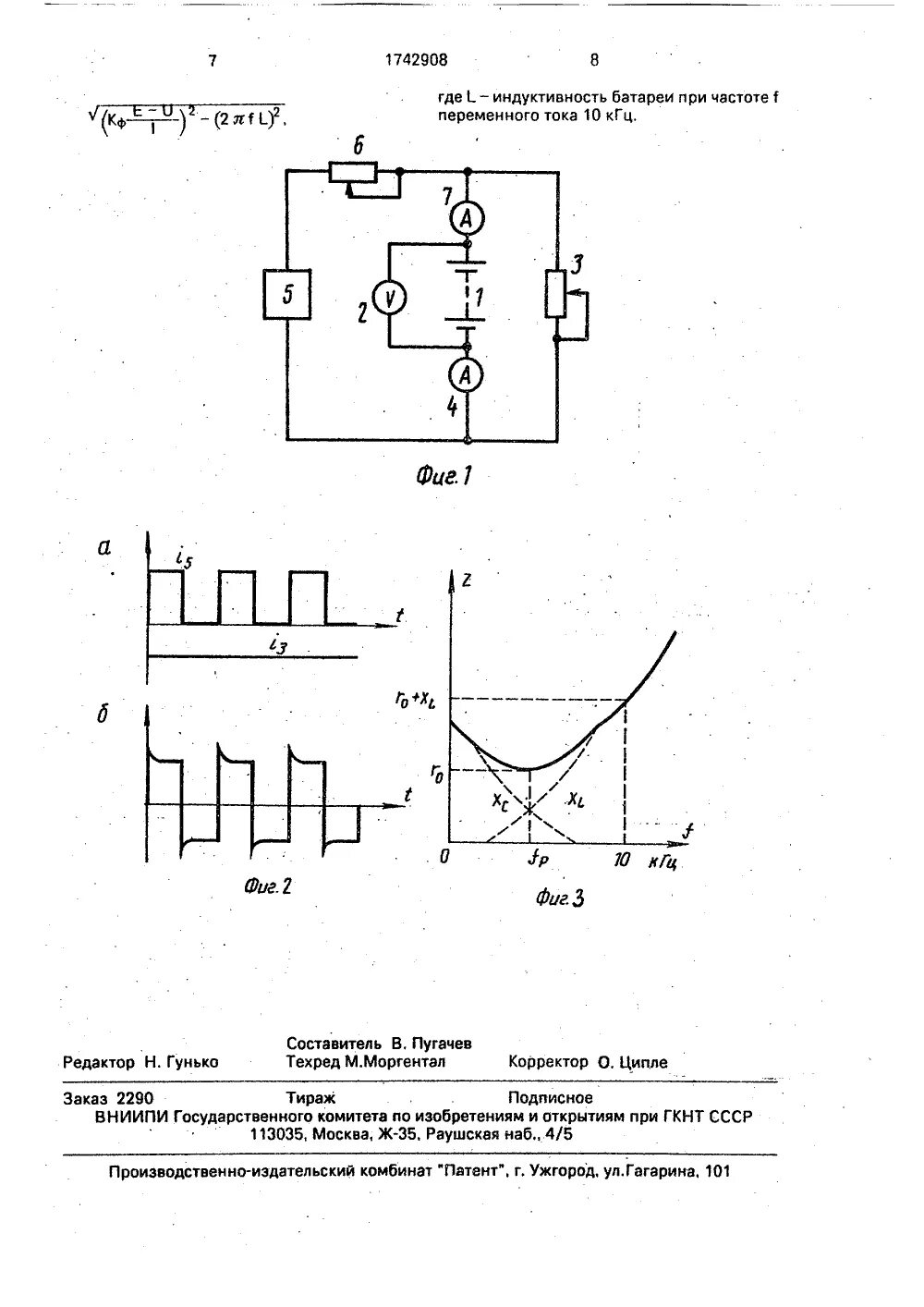
Как измерить внутреннее сопротивление аккумулятора