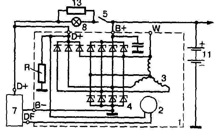
Генератор со встроенным регулятором