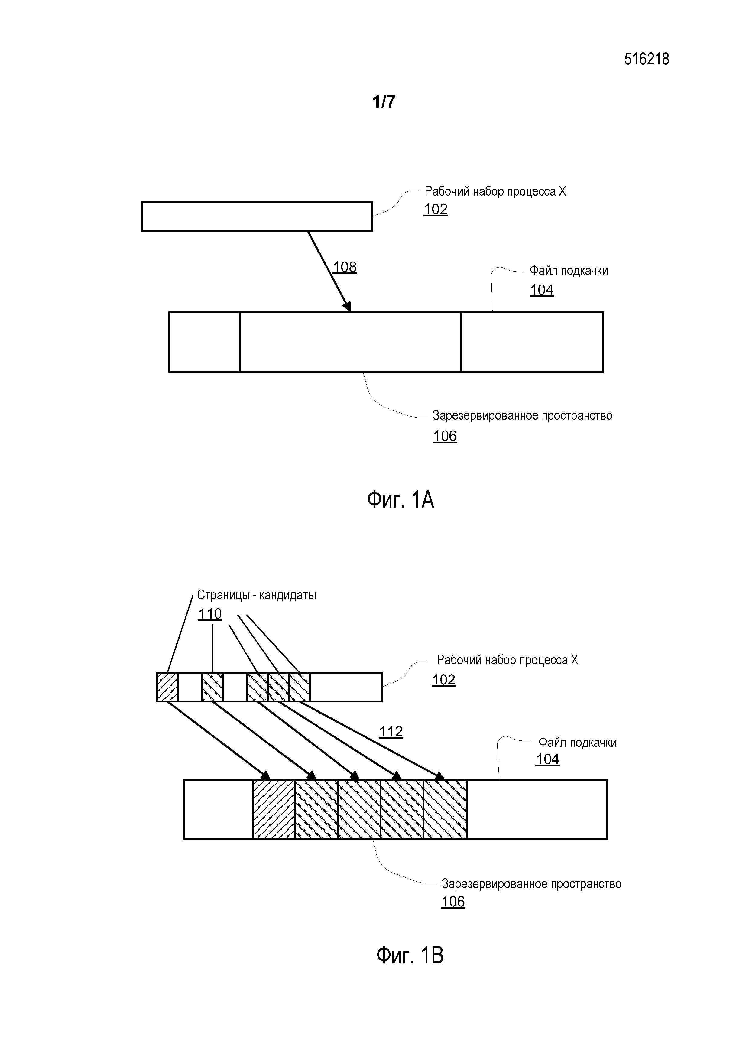
Файл рабочего набора