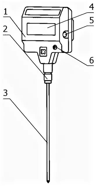
Электронный термометр лт 300