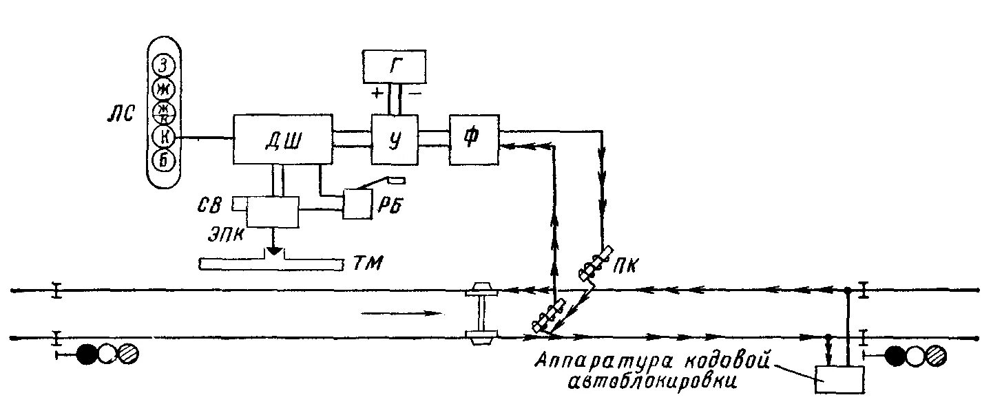
Движение поездов при алсн