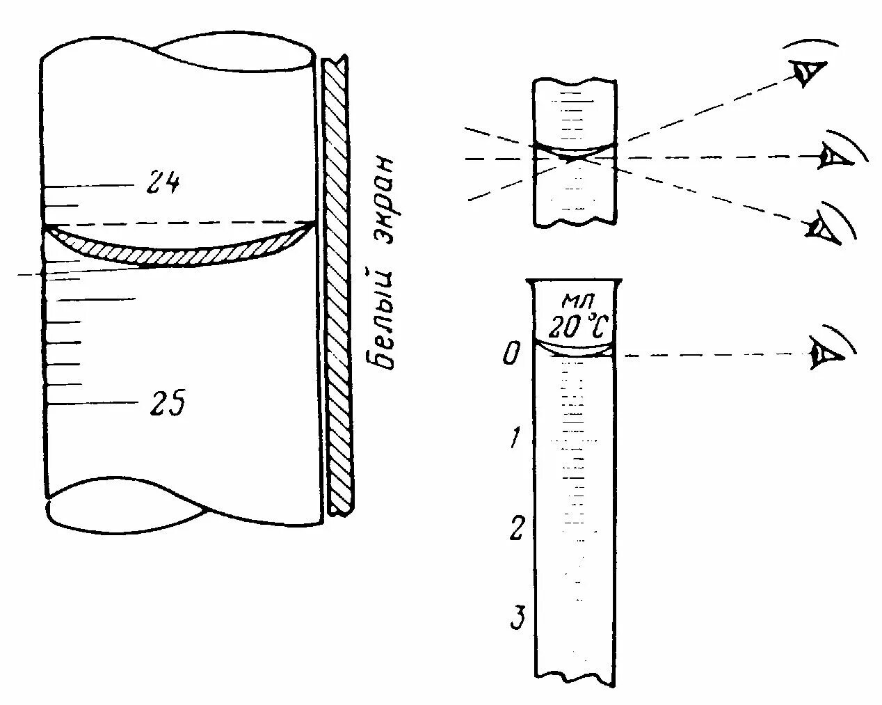
Доводят объем раствора до метки