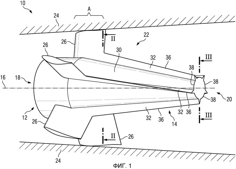
Диффузор турбины