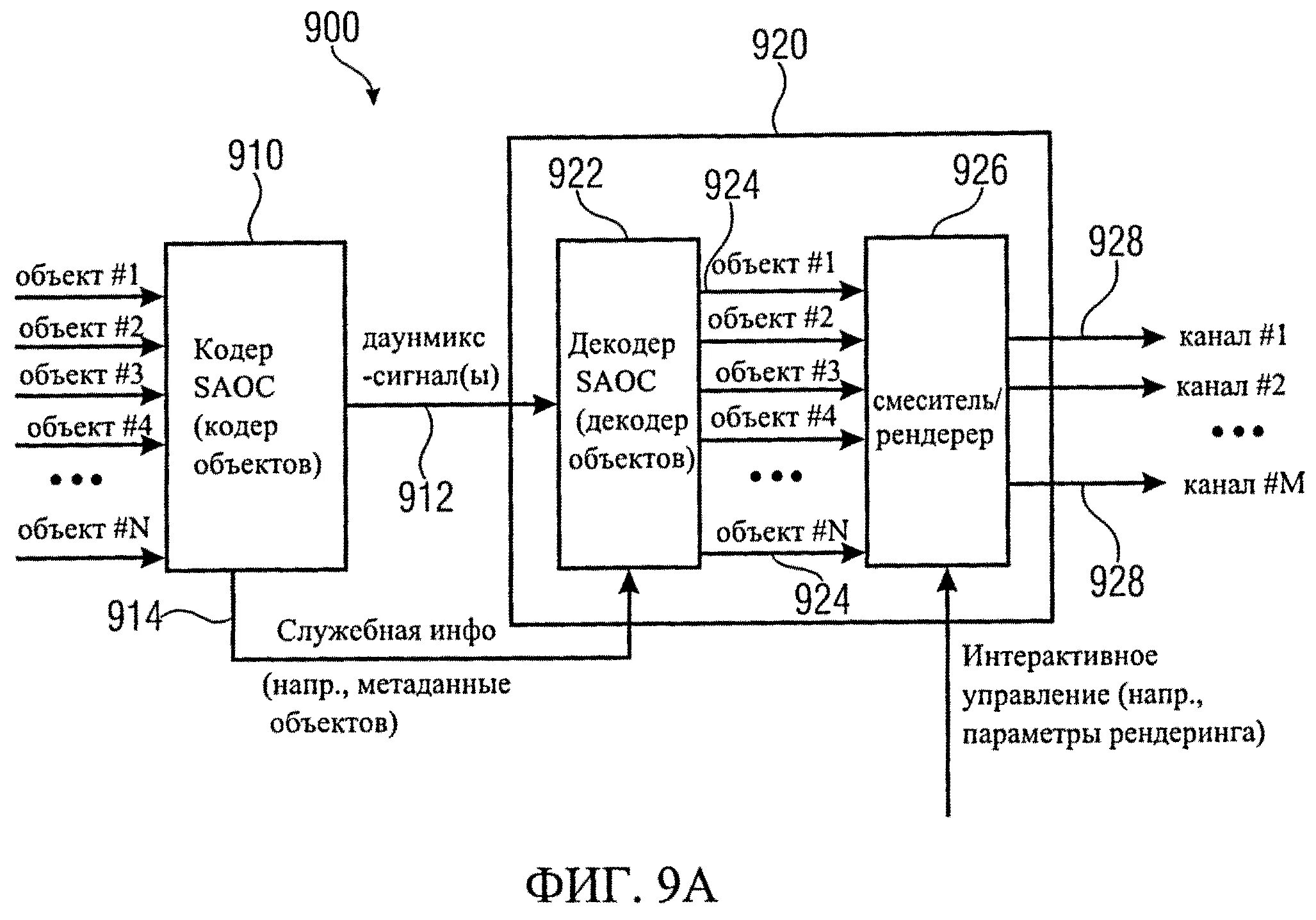
Декодер сигнала