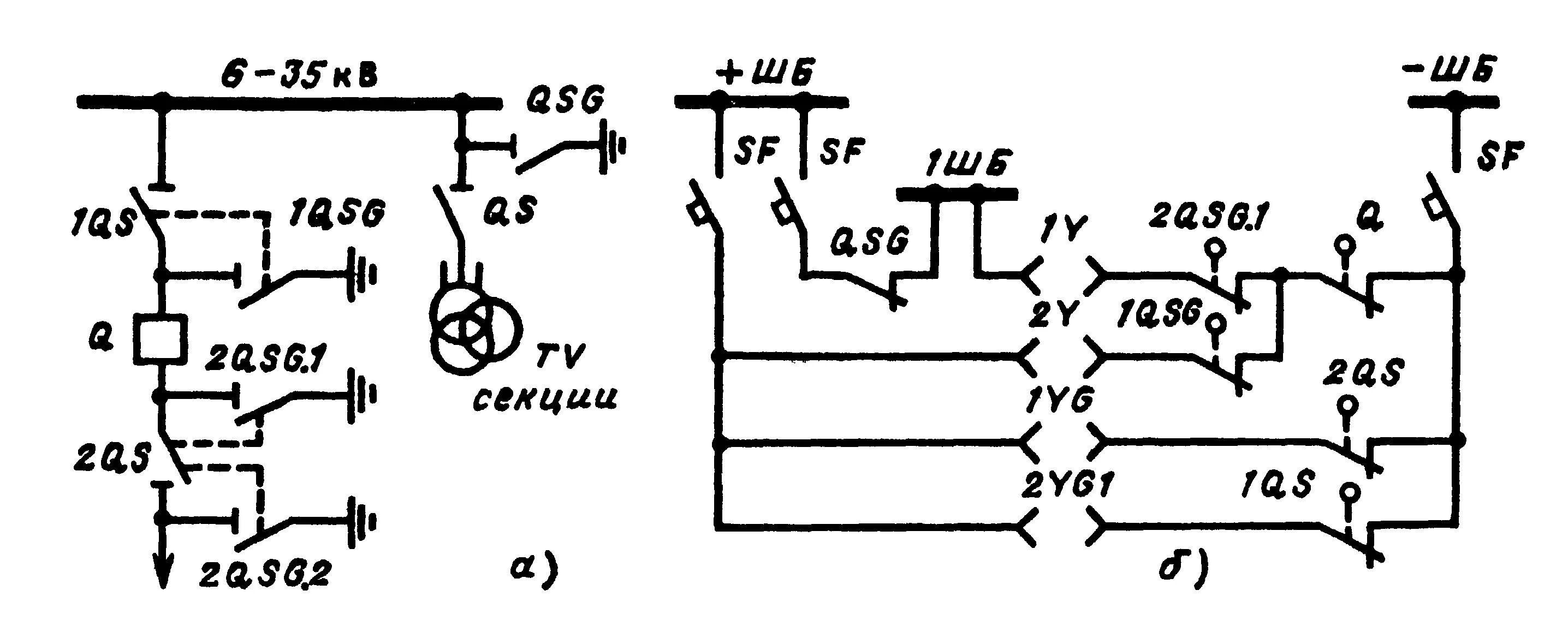
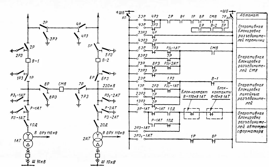
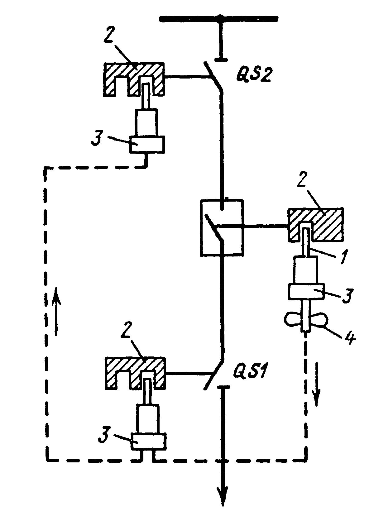
Деблокирование разъединителя