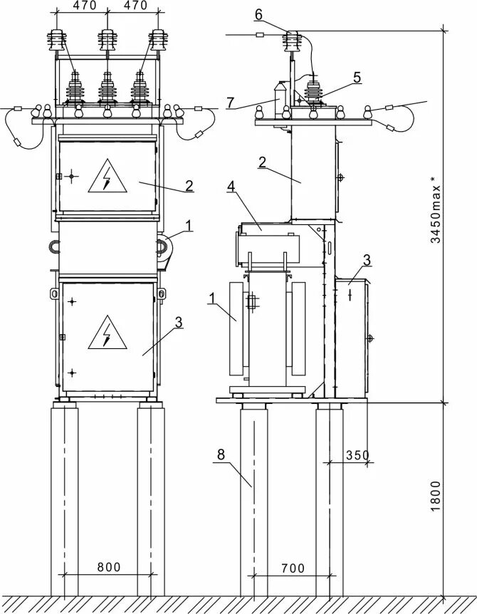
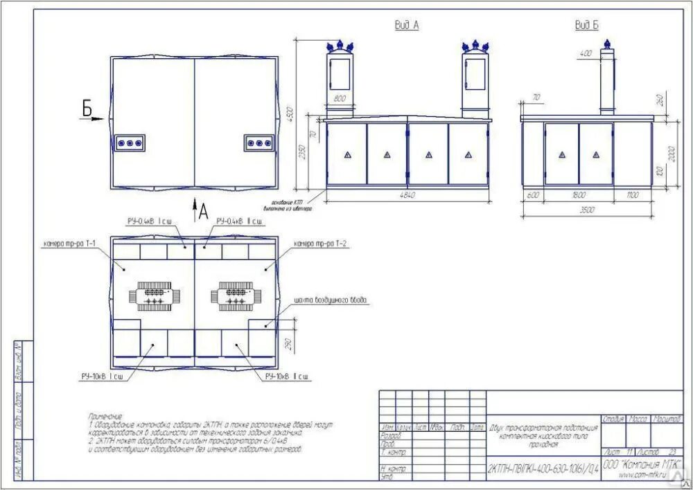
Чертежи трансформаторной подстанции