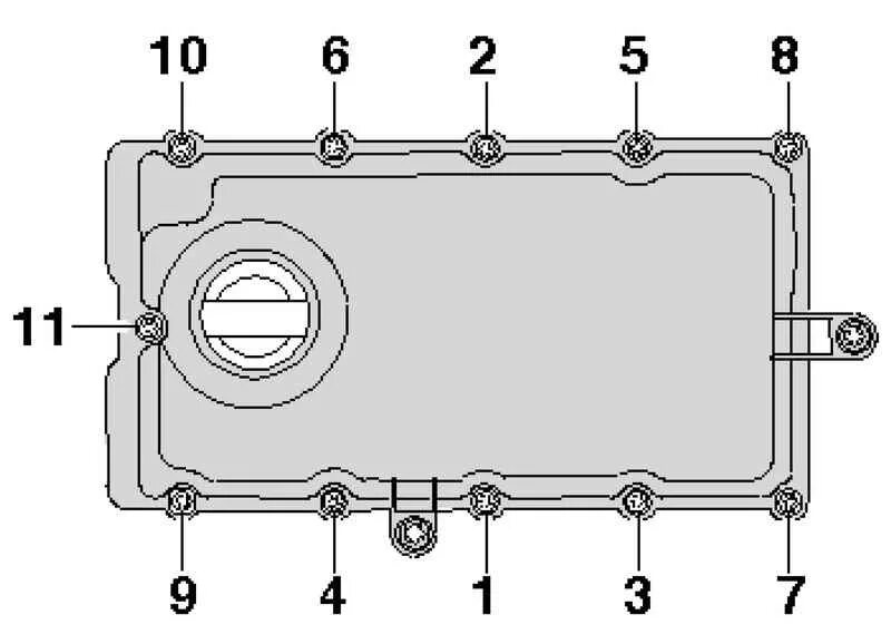
Болт крышка головки цилиндра