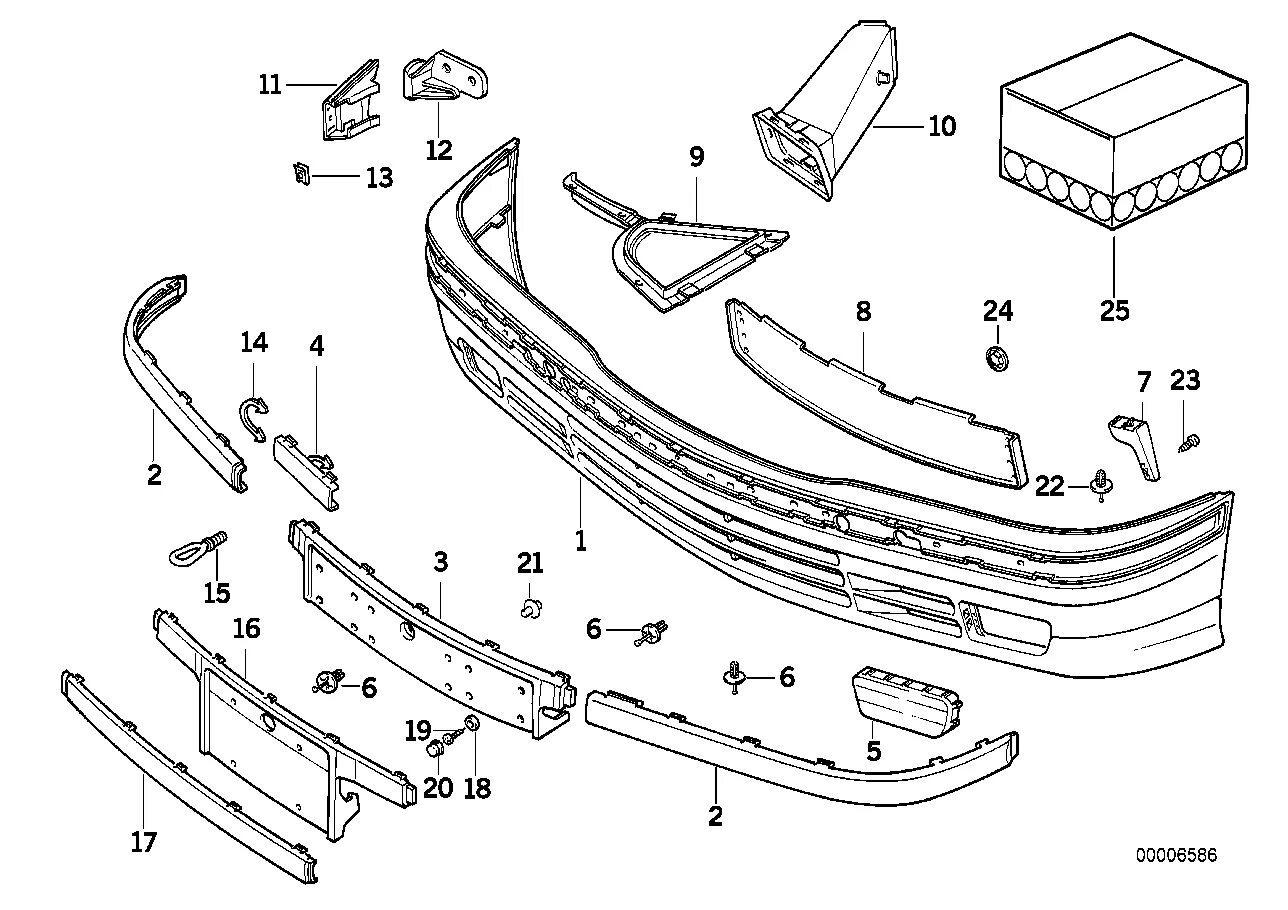
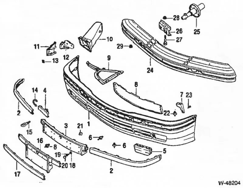
Бмв крепление бампера переднего