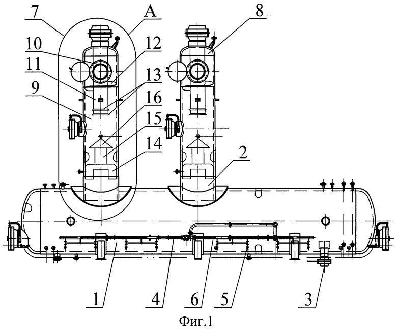
Блоки сепараторов